H-787KU21 Ch= V-2263-12
Westinghouse El. & Mfg. Co. - see also Canadian W.
- Country
- United States of America (USA)
- Manufacturer / Brand
- Westinghouse El. & Mfg. Co. - see also Canadian W.
- Year
- 1953
- Category
- Television Receiver (TV) or Monitor
- Radiomuseum.org ID
- 218573
-
- alternative name: Westinghouse El. Int.
Click on the schematic thumbnail to request the schematic as a free document.
- Number of Tubes
- 23
- Valves / Tubes
- 6BZ7 or 6BQ7A 6AF4 or 6T4 6X8 6CB6 6CB6 6CB6 12BY7 6AU6 6BN6 6BK5 12AT7 6AU6 6SN7GT 12BH7 6AU6 6AL5 12AU7 6CU6 or 6BQ6G or 6BQ6GT 6AS4GT or 6AX4GT 1B3GT 5U4G 5U4G 21YP4
- Main principle
- Superhet with RF-stage
- Wave bands
- VHF incl. FM and/or UHF (see notes for details)
- Power type and voltage
- Alternating Current supply (AC) / 105-120 Volt
- Loudspeaker
- Permanent Magnet Dynamic (PDyn) Loudspeaker (moving coil) / Ø 10 inch = 25.4 cm
- Power out
- 2.5 W (unknown quality)
- Material
- Wooden case
- from Radiomuseum.org
- Model: H-787KU21 Ch= V-2263-12 - Westinghouse El. & Mfg. Co. -
- Shape
- Console with any shape - in general
- Notes
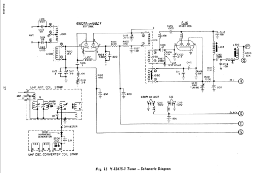
- The Westinghouse H-787KU21 is a 21" b/w TV with US standard VHF tuner channels 2 thru 13, 14 thru 83 UHF. Equipped with chassis V-2263-12, VHF tuner V-12415-1, UHF tuner V-12390-1 (H-804) and picture tube 21YP4. Cabinet is Blonde. For service information, refer to Westinghouse model H-830K21 service notes and supplementary information.
- Literature/Schematics (1)
- - - Manufacturers Literature (Westinghouse datasheets RM3364 RM4010 RM4002 RM4028 RM3388 RM3378)
- Author
- Model page created by John Kusching. See "Data change" for further contributors.
- Other Models
-
Here you find 3157 models, 1761 with images and 2673 with schematics for wireless sets etc. In French: TSF for Télégraphie sans fil.
All listed radios etc. from Westinghouse El. & Mfg. Co. - see also Canadian W.