philips: 21TD251A (21 TD 251 A); Leonardo Spezial

ID: 152811
philips: 21TD251A (21 TD 251 A); Leonardo Spezial 
12.Nov.07 20:58
2380

Franz Born † (D)
Beiträge: 88
Anzahl Danke: 4
Franz Born †

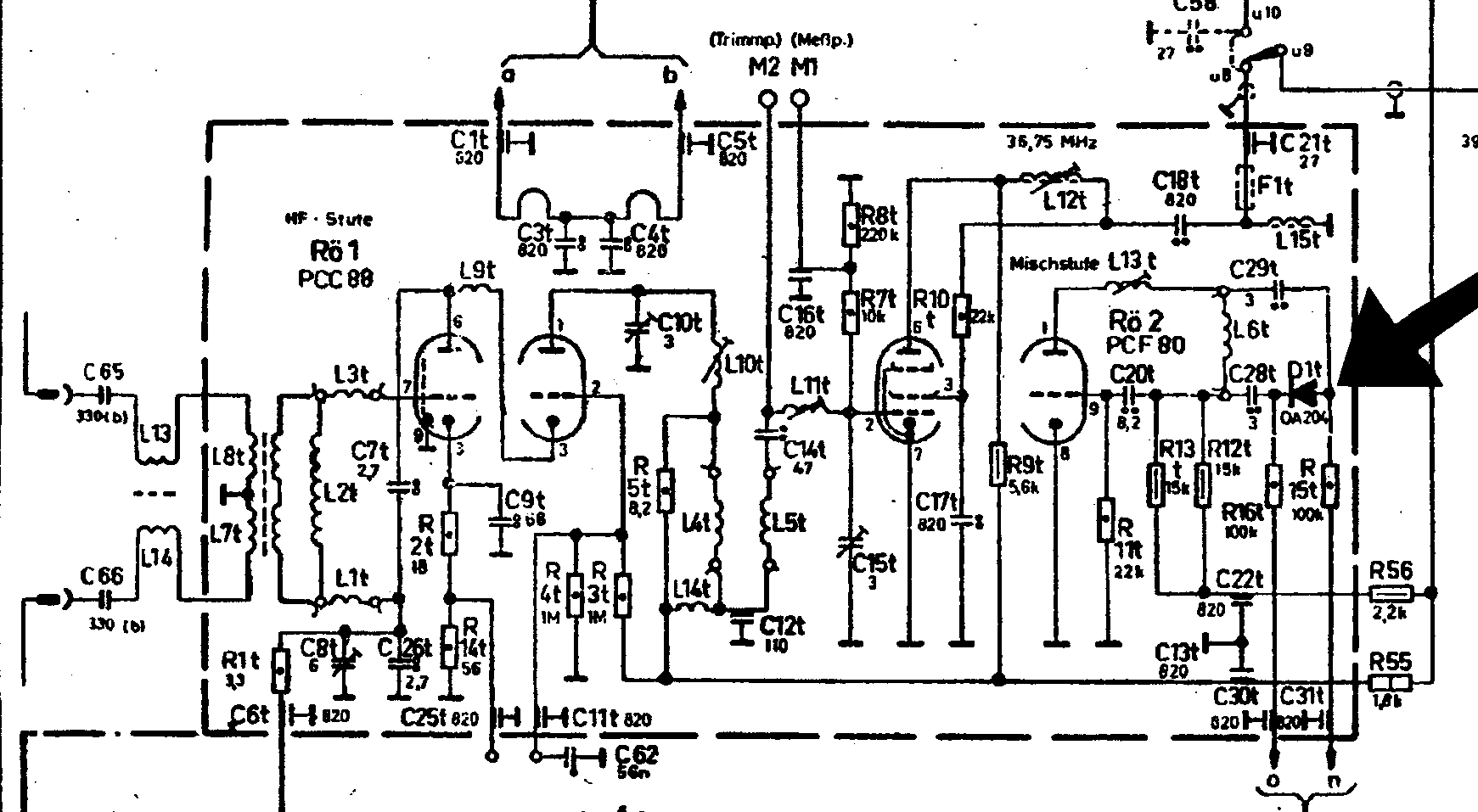
Automatische Feinabstimmung beim 21 TD 251

 

Bei  diesem Philips Gerät (Baujahr 1959) wurde erstmals ein VHF-Tuner der 3. Generation eingebaut.

Die Kanalstreifen sind als gedruckte Schaltung ausgeführt. Im Unterschied zu den herkömmlichen Kanalstreifen, sind die jeweiligen Induktiven fest und nicht mehr abstimmbar.

Möglicherweise lag hierin der Grund die Feinabstimmung völlig anders zu gestalten.

In den Oszillatorkreis wurde eine Germaniumdiode OA204 eingefügt, die bei Zuführung von Gleichspannung die Oszillatorfrequenz je nach Höhe verändert.

Bild 1 zeigt die Quelle der Abstimmspannung die über die Punkte o und n (oben rechts)

zu den Einspeise Punkten des Tuners gelangt.

Bild 2 zeigt die Schaltung innerhalb des Tuners.

In der Betriebsart Automatik wird aus einer Diskriminator - Schaltung  diese Spannung gewonnen. Das Gitter der Pentode der Rö 25 ist an dem Videogleichrichter angekoppelt.

Nach der Vergleichsschaltung mit D12 und D13 erfolgt eine Aufarbeitung in dem Triodensystem der Rö 25. Die nun entstehende Spannung wird über Entkoppelwiderstände der OA204 zugeführt.

In der Betriebsart Automatik ausgeschaltet sind die Kontakte a1 mit a2 und a5 mit a6 verbunden. Durch die Stellung des Feinabstimmungs-Einstellers R241 wird die Spannung von Hand verändert die zur exakten Oszillatorfrequenz führt.

Der Tunertyp hat sich jahrelang bewährt, jedoch wurde die Feinabstimmung wieder mechanisch  ausgeführt. Diese Lösungen sind bei den Nachfolgetypen zu sehen.

 

Franz Born

Anlagen:

Für diesen Post bedanken, weil hilfreich und/oder fachlich fundiert.