Baiquan 百泉 791
Xinxiang 新乡无线电总厂 Xinxiang Radio General Factory; Xinxiang
- Country
- People's Republic of China
- Manufacturer / Brand
- Xinxiang 新乡无线电总厂 Xinxiang Radio General Factory; Xinxiang
- Year
- 1968 ??
- Category
- Broadcast Receiver - or past WW2 Tuner
- Radiomuseum.org ID
- 177728
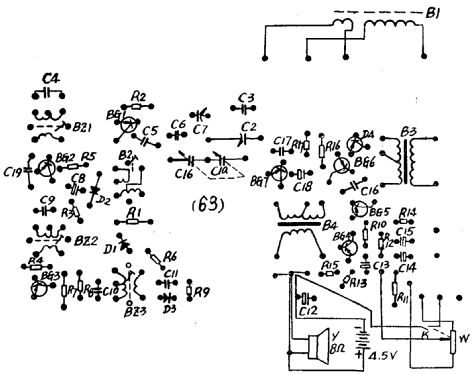
Click on the schematic thumbnail to request the schematic as a free document.
- Number of Transistors
- 7
- Main principle
- Superheterodyne (common); ZF/IF 465 kHz; 3 AF stage(s)
- Tuned circuits
- 5 AM circuit(s)
- Wave bands
- Broadcast only (MW).
- Power type and voltage
- Dry Batteries / 3 x 1.5 Volt
- Loudspeaker
- Permanent or electro-dynamic (moving coil), system not known yet.
- Material
- Plastics (no bakelite or catalin)
- from Radiomuseum.org
- Model: Baiquan 百泉 791 - Xinxiang 新乡无线电总厂
- Shape
- Very small Portable or Pocket-Set (Handheld) < 8 inch.
- Notes
- The radio model Baiquan 百泉 (100 flowers) 791 receives broadcast from 535 - 1605 kc. The IF frequency is not given but is usually 465 kc. Data 2 mv/m; 14 dB, 100 mw. There are 3 diodes plus an 8th transistor, just used as a diode (not counted for in name and here).
- Literature/Schematics (1)
- 02-Radio Manual unknown date, 380 pages (page 4.)
- Author
- Model page created by Ernst Erb. See "Data change" for further contributors.
- Other Models
-
Here you find 3 models, 0 with images and 3 with schematics for wireless sets etc. In French: TSF for Télégraphie sans fil.
All listed radios etc. from Xinxiang 新乡无线电总厂 Xinxiang Radio General Factory; Xinxiang