Ameco Preamplifier PT-2
American Electronics Co.; New York (NY)
- Country
- United States of America (USA)
- Manufacturer / Brand
- American Electronics Co.; New York (NY)
- Year
- 1970 ??
- Category
- RF (Radio Frequency-) Amplifier
- Radiomuseum.org ID
- 135437
-
- Brand: Ameco
Click on the schematic thumbnail to request the schematic as a free document.
- Number of Transistors
- 4
- Semiconductors
- Main principle
- RF-Circuit or wave trap (separate, can also be an antenna with amp.)
- Wave bands
- Wave Bands given in the notes.
- Power type and voltage
- Alternating Current supply (AC) / 117, 234 AC Volt
- Loudspeaker
- - - No sound reproduction output.
- Material
- Metal case
- from Radiomuseum.org
- Model: Ameco Preamplifier PT-2 - American Electronics Co.; New
- Shape
- Tablemodel, with any shape - general.
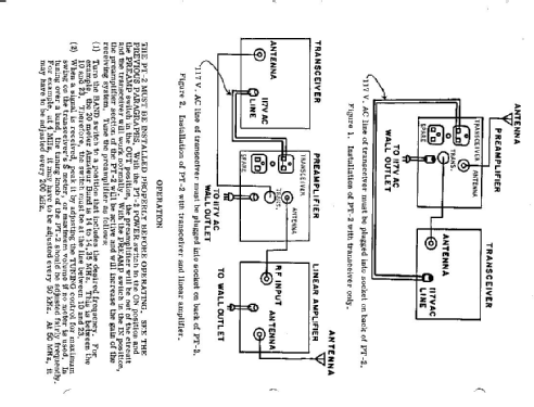
- Notes
- Ameco PT-2 Preamplifier;
selective preamplifier operates with any receiver or transceiver to improve RF gain and selectivity on receive.
Covers 1.8 to 54 MHz, Rec. & Transm. indicator.
- Source of data
- -- Collector info (Sammler)
- Author
- Model page created by a member from A. See "Data change" for further contributors.
- Other Models
-
Here you find 22 models, 21 with images and 4 with schematics for wireless sets etc. In French: TSF for Télégraphie sans fil.
All listed radios etc. from American Electronics Co.; New York (NY)
Collections
The model Ameco Preamplifier is part of the collections of the following members.