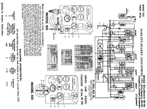
510 Ch= RE-54
Arvin, brand of Noblitt-Sparks Industries
- Country
- United States of America (USA)
- Manufacturer / Brand
- Arvin, brand of Noblitt-Sparks Industries
- Year
- 1940 ??
- Category
- Car Radio, perhaps also + sound player/recorder
- Radiomuseum.org ID
- 33025
Click on the schematic thumbnail to request the schematic as a free document.
- Number of Tubes
- 5
- Main principle
- Superheterodyne (common); ZF/IF 455 kHz
- Wave bands
- Broadcast only (MW).
- Power type and voltage
- Storage Battery for all (e.g. for car radios and amateur radios) / 6 Volt
- Loudspeaker
- Electro Magnetic Dynamic LS (moving-coil with field excitation coil) / Ø 5 inch = 12.7 cm
- Power out
- 2 W (unknown quality)
- Material
- Metal case
- from Radiomuseum.org
- Model: 510 Ch= RE-54 - Arvin, brand of Noblitt-Sparks
- Shape
- Chassis only or for «building in»
- Dimensions (WHD)
- 5.5 x 5 x 11 inch / 140 x 127 x 279 mm
- Notes
- Vibrator for +B.
- Price in first year of sale
- 14.95 USD
- External source of data
- Ernst Erb
- Circuit diagram reference
- Rider's Perpetual, Volume 11 = ca. 1940 and before
- Mentioned in
- Sumer 1940.Supplement 56A,To General Catalog 56 From Burstein-Applebee Co.
- Other Models
-
Here you find 723 models, 494 with images and 594 with schematics for wireless sets etc. In French: TSF for Télégraphie sans fil.
All listed radios etc. from Arvin, brand of Noblitt-Sparks Industries