9800 Model 40 (A.C.)
Atwater Kent Mfg. Co.; Philadelphia, USA
- Produttore / Marca
- Atwater Kent Mfg. Co.; Philadelphia, USA
- Anno
- 1928
- Categoria
- Radio (o sintonizzatore del dopoguerra WW2)
- Radiomuseum.org ID
- 33265
Clicca sulla miniatura dello schema per richiederlo come documento gratuito.
- Numero di tubi
- 7
- Principio generale
- A circuiti accordati (amplif. diretta) senza reazione
- N. di circuiti accordati
- 3 Circuiti Mod. Amp. (AM)
- Gamme d'onda
- Solo onde medie (OM).
- Tensioni di funzionamento
- Alimentazione a corrente alternata (CA) / 115 Volt
- Altoparlante
- - Questo apparecchio richiede altoparlante/i esterno/i.
- Materiali
- Mobile di metallo
- Radiomuseum.org
- Modello: 9800 Model 40 - Atwater Kent Mfg. Co.;
- Forma
- Soprammobile a cassapanca o cassetta, solitamente con coperchio (NON a leggio)
- Dimensioni (LxAxP)
- 432 x 191 x 254 mm / 17 x 7.5 x 10 inch
- Annotazioni
-
"Bathtub" model. One dial (primary tuning control knob). The 1929 improvement on the famous Model 37. More powerful, more sensitive. New sealed power unit. Full-Vision Dial. Satin finished in dark brown and gold or deep golden bronze and gold. Requires six A.C. tubes and one rectifying tube. For 110-120 volt, 50-60 cycle alternating current.
- Peso netto
- 18 kg / 39 lb 10.4 oz (39.648 lb)
- Prezzo nel primo anno
- 77.00 $
- Fonte esterna dei dati
- Ernst Erb
- Fonte dei dati
- Radio Collector`s Guide 1921-1932
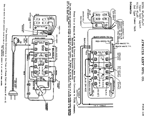
- Riferimenti schemi
- Rider's Perpetual, Volume 1 = 1931/1934 (for 1919-1931)
- Bibliografia
- Collector's Guide to Antique Radios 4. Edition
- Letteratura / Schemi (1)
- A.Atwater Kent, The Man, 2002
- Letteratura / Schemi (2)
- Radio Retailing (Radio & Television R.) (ad October 1928 page 28)
- Altri modelli
-
In questo link sono elencati 508 modelli, di cui 332 con immagini e 332 con schemi.
Elenco delle radio e altri apparecchi della Atwater Kent Mfg. Co.; Philadelphia, USA
Collezioni
Il modello 9800 fa parte delle collezioni dei seguenti membri.
- Mike Argetsinger (USA)
- Jürgen Bauch (D)
- Bernhard Beier (A)
- Aldo Canepa (RA)
- Angelo Daniele (I)
- Adrian Dunarean (RO)
- Michael Ellery (USA)
- Carlos Erro Ibáñez (E)
- Alvaro Garrido Gómez (E)
- Wilbur Howell (USA)
- Volker Jeschkeit (I)
- Keith Jordan (USA)
- Peter Kahlich (D)
- Sofronios Markidis (GR)
- Hector Ruben Menendez (RA)
- Peter Olin (USA)
- Juan Jose Roncal (E)
- Vittorio Sartori (I)
- Leonard Sparks (USA)
- Serioja Tatu (CDN)