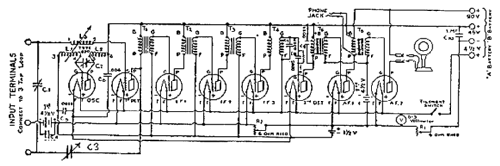
Best's 45,000 cycle Superheterodyne
Best, G.M., where?
- Land
- USA
- Hersteller / Marke
- Best, G.M., where?
- Jahr
- 1924 ?
- Kategorie
- Bausatz, Baukasten oder Bauanleitung (Kit)
- Radiomuseum.org ID
- 95457
Klicken Sie auf den Schaltplanausschnitt, um diesen kostenlos als Dokument anzufordern.
- Anzahl Röhren
- 8
- Hauptprinzip
- Superhet allgemein; ZF/IF 45 kHz; 2 NF-Stufe(n)
- Wellenbereiche
- Mittelwelle, keine anderen.
- Betriebsart / Volt
- Trockenbatterien
- Lautsprecher
- - Dieses Modell benötigt externe(n) Lautsprecher.
- Material
- Gerät mit Holzgehäuse
- von Radiomuseum.org
- Modell: Best's 45,000 cycle Superheterodyne - Best, G.M., where?
- Form
- Tischgerät, Truhenform, meist mit Deckel (NICHT Schrägpult).
- Abmessungen (BHT)
- 30 x 12.5 x 12 inch / 762 x 318 x 305 mm
- Bemerkung
- Available in kit form by Remler and by Dr.F.B.Little. See there.
- Datenherkunft
- -- Collector info (Sammler)
- Literaturnachweis
- The Radio News Superheterodyne book
- Autor
- Modellseite von Konrad Birkner † 12.08.2014 angelegt. Siehe bei "Änderungsvorschlag" für weitere Mitarbeit.
- Weitere Modelle
-
Hier finden Sie 1 Modelle, davon 1 mit Bildern und 1 mit Schaltbildern.
Alle gelisteten Radios usw. von Best, G.M., where?