- Land
- Kanada
- Hersteller / Marke
- Canadian General Electric (Canada) (C.G.E. or CGE); Toronto, ON
- Jahr
- 1952 ?
- Kategorie
- Rundfunkempfänger (Radio - oder Tuner nach WW2)
- Radiomuseum.org ID
- 306365
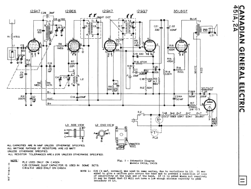
Klicken Sie auf den Schaltplanausschnitt, um diesen kostenlos als Dokument anzufordern.
- Anzahl Röhren
- 6
- Hauptprinzip
- Super mit HF-Vorstufe; ZF/IF 460 kHz; 2 NF-Stufe(n)
- Anzahl Kreise
- 7 Kreis(e) AM
- Wellenbereiche
- Mittelwelle, keine anderen.
- Betriebsart / Volt
- Allstromgerät / 105-125 Volt
- Lautsprecher
- Dynamischer LS, keine Erregerspule (permanentdynamisch) / Ø 6.5 inch = 16.5 cm
- Belastbarkeit / Leistung
- 0.8 W (1.4 W max./spitze)
- Material
- Gerät mit Holzgehäuse
- von Radiomuseum.org
- Modell: C-451A - Canadian General Electric
- Form
- Tischmodell, Zusatz nicht bekannt - allgemein.
- Abmessungen (BHT)
- 15.5 x 10 x 9.25 inch / 394 x 254 x 235 mm
- Bemerkung
-
The Canadian General Electric model C-451A is a 6-tube table radio with internal loop antenna. Available in walnut, mahogany or light oak.
- Literatur/Schema (1)
- Radio College of Canada (RCC) (Supplement 26)
- Autor
- Modellseite von Tom Seeger angelegt. Siehe bei "Änderungsvorschlag" für weitere Mitarbeit.
- Weitere Modelle
-
Hier finden Sie 506 Modelle, davon 374 mit Bildern und 428 mit Schaltbildern.
Alle gelisteten Radios usw. von Canadian General Electric (Canada) (C.G.E. or CGE); Toronto, ON