- Country
- United States of America (USA)
- Manufacturer / Brand
- Crosley Radio Corp.; Cincinnati (OH)
- Year
- 1946
- Category
- Broadcast Receiver - or past WW2 Tuner
- Radiomuseum.org ID
- 36786
Click on the schematic thumbnail to request the schematic as a free document.
- Number of Tubes
- 5
- Main principle
- Superheterodyne (common); ZF/IF 455 kHz; 2 AF stage(s)
- Wave bands
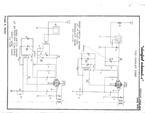
- Broadcast and Short Wave (SW).
- Power type and voltage
- AC/DC-set / 105-125 Volt
- Loudspeaker
- Permanent Magnet Dynamic (PDyn) Loudspeaker (moving coil) / Ø 4 inch = 10.2 cm
- Power out
- 1.5 W (unknown quality)
- Material
- Plastics (no bakelite or catalin)
- from Radiomuseum.org
- Model: 56TX - Crosley Radio Corp.;
- Shape
- Tablemodel, with any shape - general.
- Dimensions (WHD)
- 11.5 x 7.25 x 6 inch / 292 x 184 x 152 mm
- Notes
- Like many Crosleys, the dial has the legend "American" at the top and "Overseas" at the bottom, indicating that the top lists the standard American broadcast band 540-1600 kc and the bottom lists shortwave freq from 5.8 to 15 mc. It also proudly bears the stamp "Union Made, International Brotherhood of Electrical Workers".
- External source of data
- Ernst Erb
- Source of data
- Collector's Guide to Antique Radios 4. Edition
- Circuit diagram reference
- Rider's Perpetual, Volume 15 = 1947 and before
- Other Models
-
Here you find 1813 models, 1053 with images and 1306 with schematics for wireless sets etc. In French: TSF for Télégraphie sans fil.
All listed radios etc. from Crosley Radio Corp.; Cincinnati (OH)
Collections
The model 56TX is part of the collections of the following members.