216 Junior Pee-Wee (Detrola JR)
Detrola; Detroit (MI)
- Land
- USA
- Hersteller / Marke
- Detrola; Detroit (MI)
- Jahr
- 1938
- Kategorie
- Rundfunkempfänger (Radio - oder Tuner nach WW2)
- Radiomuseum.org ID
- 37222
Klicken Sie auf den Schaltplanausschnitt, um diesen kostenlos als Dokument anzufordern.
- Anzahl Röhren
- 4
- Hauptprinzip
- Geradeaus ohne Rückkopplung; 1 NF-Stufe(n)
- Anzahl Kreise
- 2 Kreis(e) AM
- Wellenbereiche
- Mittelwelle, keine anderen.
- Betriebsart / Volt
- Allstromgerät / 105-125 Volt
- Lautsprecher
- Dynamischer LS, mit Erregerspule (elektrodynamisch)
- Material
- Plastik oder Bakelit
- von Radiomuseum.org
- Modell: 216 Junior Pee-Wee - Detrola; Detroit MI
- Form
- Tischgerät ohne Drucktasten, bis 35 cm Breite (Kleingerät, meist dekorativ. Nur für Netzbetrieb, doch Transportgriff möglich).
- Bemerkung
- The Detrola Junior Pee-Wee 216 is a small radio with just one button on the front right, like the "propeller scale" which naturally includes a turning knob in the center, often with a sharp color contrast. The models came in different colors.
- Datenherkunft extern
- Ernst Erb
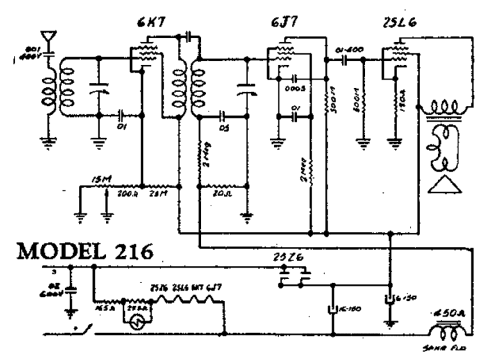
- Schaltungsnachweis
- Rider's Perpetual, Volume 9 = 1938 and before
- Weitere Modelle
-
Hier finden Sie 334 Modelle, davon 195 mit Bildern und 291 mit Schaltbildern.
Alle gelisteten Radios usw. von Detrola; Detroit (MI)
Sammlungen
Das Modell 216 Junior Pee-Wee (Detrola JR) befindet sich in den Sammlungen folgender Mitglieder.