Röhrenvoltmeter Valvimeter MRV1
ELGE Erzeugung Elektrischer Messgeräte Ges.m.b.H; Wien
- Country
- Austria
- Manufacturer / Brand
- ELGE Erzeugung Elektrischer Messgeräte Ges.m.b.H; Wien
- Year
- 1950–1953 ?
- Category
- Service- or Lab Equipment
- Radiomuseum.org ID
- 160348
Click on the schematic thumbnail to request the schematic as a free document.
- Number of Tubes
- 2
- Wave bands
- - without
- Power type and voltage
- Alternating Current supply (AC) / 110; 150; 220 Volt
- Loudspeaker
- - - No sound reproduction output.
- Material
- Metal case
- from Radiomuseum.org
- Model: Röhrenvoltmeter Valvimeter MRV1 - ELGE Erzeugung Elektrischer
- Shape
- Tablemodel, high profile (upright - NOT Cathedral nor decorative).
- Dimensions (WHD)
- 125 x 85 x 175 mm / 4.9 x 3.3 x 6.9 inch
- Notes
- Röhrenvoltmeter Valvimeter MRV1
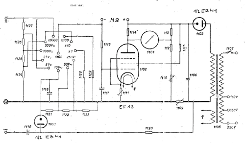
Messbereiche:
MOhm: x1, x10, x100, x1000
V= : 5, 25, 100, 500
V~: 10, 50, 250
- Net weight (2.2 lb = 1 kg)
- 2 kg / 4 lb 6.5 oz (4.405 lb)
- Price in first year of sale
- 785.00 ATS
- Source of data
- - - Data from my own collection
- Mentioned in
- Radiotechnik-Radioamateur (RT), Erb, Wien (47) (September 1950, Gerätebeschreibung Seite 458)
- Author
- Model page created by Manfred Kröll † 2.9.2013. See "Data change" for further contributors.
- Other Models
-
Here you find 11 models, 11 with images and 8 with schematics for wireless sets etc. In French: TSF for Télégraphie sans fil.
All listed radios etc. from ELGE Erzeugung Elektrischer Messgeräte Ges.m.b.H; Wien
Collections
The model Röhrenvoltmeter Valvimeter is part of the collections of the following members.