Dynamotor DM-34-(*)
Emerson Radio & Phonograph Corp.; New York, NY
- Produttore / Marca
- Emerson Radio & Phonograph Corp.; New York, NY
- Anno
- 1940 ??
- Categoria
- Apparato militare (senza Ri Tr o TRX)
- Radiomuseum.org ID
- 240197
-
- alternative name: Emerson Television
Clicca sulla miniatura dello schema per richiederlo come documento gratuito.
- Gamme d'onda
- - senza
- Tensioni di funzionamento
- Batteria di accumulatori, per tutto (es. autoradio, radio amatoriali) / 14 Volt
- Altoparlante
- - - Nessuna uscita audio.
- Radiomuseum.org
- Modello: Dynamotor DM-34- - Emerson Radio & Phonograph
- Dimensioni (LxAxP)
- 162 x 117 x 76 mm / 6.4 x 4.6 x 3 inch
- Annotazioni
-
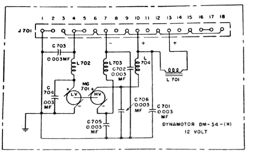
Dynamotor (Motor-Generator, single Rotor with double winding and commutator). Input 12 - 14 VDC 2.8 A (storage Battery); Output 220 VDC up to 80 mA for B voltage supply.
Used (and usually built in) in receivers BC-603 (part of radio set SCR-508) and BC-683 (part of radio set SCR-608)
Macchina elettrica denominata "dinamotore" usata, si presume nel caso specifico, per la produzione di tensione anodica per apparecchiature radio militari degli USA (Signal Corps U.S. Army). Essa è composta da uno statore ed un unico rotore con doppio collettore, uno con funzione di motore, alimentato in corrente continua a 14 V. - 2,8 A., e l'altro con funzione di dinamo per produrre l'alta tensione continua di 220 V. - 0,08 A.
- Peso netto
- 3 kg / 6 lb 9.7 oz (6.608 lb)
- Autore
- Modello inviato da Gianluigi Miazzi. Utilizzare "Proponi modifica" per inviare ulteriori dati.
- Altri modelli
-
In questo link sono elencati 2101 modelli, di cui 1158 con immagini e 1659 con schemi.
Elenco delle radio e altri apparecchi della Emerson Radio & Phonograph Corp.; New York, NY