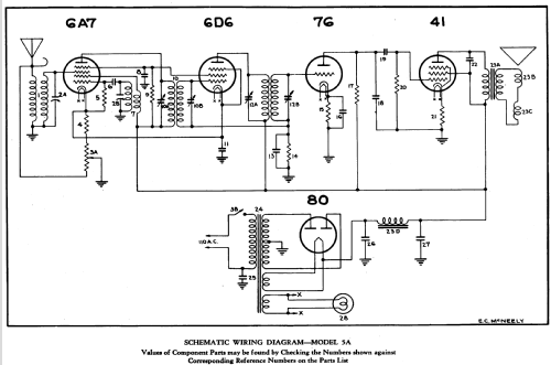
5AT1-V Ch= 5A
Fairbanks, Morse & Co.; Chicago (IL)
- Pays
- Etats-Unis
- Fabricant / Marque
- Fairbanks, Morse & Co.; Chicago (IL)
- Année
- 1937/1938
- Catégorie
- Radio - ou tuner d'après la guerre 1939-45
- Radiomuseum.org ID
- 207938
-
- alternative name: FMC
- Brand: Welco
Cliquez sur la vignette du schéma pour le demander en tant que document gratuit.
- No. de tubes
- 5
- Principe général
- Super hétérodyne (en général); FI/IF 456 kHz; 1 Etage(s) BF
- Circuits accordés
- 6 Circuits MA (AM)
- Gammes d'ondes
- PO uniquement
- Tension / type courant
- Alimentation Courant Alternatif (CA) / Either transformer: 50 to 60 cycles, 110V or 40 to 60 cycle, 110V or 25 cycles, 220 Volt
- Haut-parleur
- HP dynamique à électro-aimant (électrodynamique) / Ø 5 inch = 12.7 cm
- De Radiomuseum.org
- Modèle: 5AT1-V Ch= 5A - Fairbanks, Morse & Co.;
- Forme
- Modèle de table générique
- Remarques
-
The Fairbanks Morse 5AT1-V is an AC operated, 5 tube BC band receiver. BC band frequency tuning range is 540 to 1730 kHz. Uses chassis 5A. Volume is controlled by shorting input signal on antenna. Was available with 3 different power transformers.
A production change was made that added a 10uF, 25V capacitor in parallel with the cathode resistor on the 41 tube, which was done to improve sensitivity. This capacitor is NOT shown in the schematics.
NOTE: 5A is the chassis number and NOT the model number.
The following models use the same chassis:
Model Number Chassis Cabinet 5AT1 5A Wooden Walnut Cabinet 5AT1-K 5A Black (Ebony) Cabinet 5AT1-V 5A Antique Ivory Cabinet
- Source
- - - Manufacturers Literature
- Source du schéma
- Rider's Perpetual, Volume 9 = 1938 and before
- Schémathèque (1)
- Gernsback Official Radio Service Manual (Volume 7, page 919)
- Schémathèque (2)
- Rider's Perpetual, Volume 9 = 1938 and before (Riders (Fairbanks Morse) 9-4, 9-5, 9-6 Changes in Riders (Change Section) 10-2)
- Auteur
- Modèle crée par John Kusching. Voir les propositions de modification pour les contributeurs supplémentaires.
- D'autres Modèles
-
Vous pourrez trouver sous ce lien 147 modèles d'appareils, 87 avec des images et 117 avec des schémas.
Tous les appareils de Fairbanks, Morse & Co.; Chicago (IL)