- Pays
- Royaume Uni
- Fabricant / Marque
- Ferguson (Brand), Ferguson Radio Corporation Ltd., British Radio Corporation Ltd.; London
- Année
- 1962 ?
- Catégorie
- Radio - ou tuner d'après la guerre 1939-45
- Radiomuseum.org ID
- 167578
-
- Brand: TRF
Cliquez sur la vignette du schéma pour le demander en tant que document gratuit.
- No. de transistors
- 6
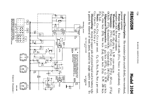
- Principe général
- Super hétérodyne (en général); FI/IF 475 kHz; 2 Etage(s) BF
- Circuits accordés
- 5 Circuits MA (AM)
- Gammes d'ondes
- PO et GO
- Tension / type courant
- Piles sèches / 4 x 1.5 Volt
- Haut-parleur
- HP dynamique à aimant permanent + bobine mobile
- Puissance de sortie
- 0.4 W (qualité inconnue)
- De Radiomuseum.org
- Modèle: 3104 - Ferguson Brand, Ferguson Radio
- Remarques
- Personal receiver.
- Source
- -- Schematic
- Schémathèque (1)
- Radio And Television Servicing books (R&TVS)
- Auteur
- Modèle crée par Keith Staines. Voir les propositions de modification pour les contributeurs supplémentaires.
- D'autres Modèles
-
Vous pourrez trouver sous ce lien 430 modèles d'appareils, 313 avec des images et 264 avec des schémas.
Tous les appareils de Ferguson (Brand), Ferguson Radio Corporation Ltd., British Radio Corporation Ltd.; London