- Pays
- Etats-Unis
- Fabricant / Marque
- General Electric Co. (GE); Bridgeport CT, Syracuse NY
- Année
- 1953/1954
- Catégorie
- Radio - ou tuner d'après la guerre 1939-45
- Radiomuseum.org ID
- 90381
-
- Brand: Musaphonic
Cliquez sur la vignette du schéma pour le demander en tant que document gratuit.
- No. de tubes
- 5
- Principe général
- Super hétérodyne (en général); FI/IF 455 kHz; 2 Etage(s) BF
- Circuits accordés
- 6 Circuits MA (AM)
- Gammes d'ondes
- PO uniquement
- Tension / type courant
- Appareil tous courants (CA / CC) / Either AC: 50-60Hz, 105-120V or DC: 105-120 Volt
- Haut-parleur
- HP dynamique à aimant permanent + bobine mobile / Ø 4 inch = 10.2 cm
- Matière
- Plastique moderne (pas de bakélite, ni de catalin)
- De Radiomuseum.org
- Modèle: 425 - General Electric Co. GE;
- Forme
- Modèle de table sans poussoirs, modèle cheminée
- Remarques
-
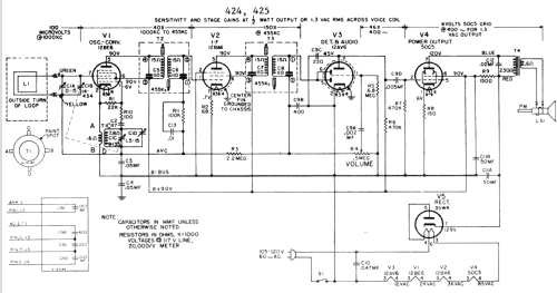
The General Electric 425 is an AC/DC operated 5 tube BC band receiver. The BC band frequency tuning range is 540 - 1600kHz. Has loop antenna mounted on back of cabinet.
The 425 is part of a family of receivers that use similar schematics and cabinets with different cabinet colors:
Model Years Manufactured Montgomery Ward Catalog Number Cabinet Color Schematic uses R11, C13 424 1953-1954 - Mohagony Yes 425 1953-1954 - Ivory Yes 450 1954-1955 638 Green No 451 1954-1955 639 Ivory No 452 1954-1955 640 Red No NOTE: Models 424 and 425 have R11 and C13 installed between the AVC node and pin 1 of the T2 IF transformer. The Beitman reference does not show these components but the General Electric service data does.
- Schémathèque (1)
- Beitman Radio Diagrams, Vol. 14, 1954 (Page 42)
- Schémathèque (2)
- Photofact Folder, Howard W. SAMS (Set 233, folder 2 dated 3/54)
- Schémathèque (4)
- General Electric Service Notes (General Electric Radio Service Guide Volume III 1946 to 1961 page 127)
- Auteur
- Modèle crée par Walter Wiesmüller † May 2012. Voir les propositions de modification pour les contributeurs supplémentaires.
- D'autres Modèles
-
Vous pourrez trouver sous ce lien 2962 modèles d'appareils, 2174 avec des images et 2074 avec des schémas.
Tous les appareils de General Electric Co. (GE); Bridgeport CT, Syracuse NY