Audio Generator AG-9U
Heathkit (UK) by Daystrom
- Country
- Great Britain (UK)
- Manufacturer / Brand
- Heathkit (UK) by Daystrom
- Year
- 1961 ??
- Category
- Service- or Lab Equipment
- Radiomuseum.org ID
- 89328
Click on the schematic thumbnail to request the schematic as a free document.
- Number of Tubes
- 3
- Wave bands
- - without
- Power type and voltage
- Alternating Current supply (AC) / 200-250 Volt
- Loudspeaker
- - For headphones or amp.
- Material
- Metal case
- from Radiomuseum.org
- Model: Audio Generator AG-9U - Heathkit UK by Daystrom
- Shape
- Tablemodel, with any shape - general.
- Notes
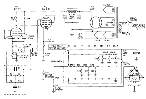
- 10 Hz - 100 Khz, 0,003 - 10 Volt.
- Mentioned in
- -- Original prospect or advert (Hi-Fi News 1961 - January)
- Literature/Schematics (1)
- -- Schematic
- Author
- Model page created by Hinrich Grensemann † 15.5.16. See "Data change" for further contributors.
- Other Models
-
Here you find 55 models, 53 with images and 26 with schematics for wireless sets etc. In French: TSF for Télégraphie sans fil.
All listed radios etc. from Heathkit (UK) by Daystrom