- País
- Gran Bretaña (GB)
- Fabricante / Marca
- HMV (Brand), His Masters Voice, The Gramophone Company Ltd.; Middlesex
- Año
- 1959/1960
- Categoría
- Radio - o Sintonizador pasado WW2
- Radiomuseum.org ID
- 118199
Haga clic en la miniatura esquemática para solicitarlo como documento gratuito.
- Numero de valvulas
- 4
- Principio principal
- Superheterodino en general; ZF/IF 470 kHz
- Gama de ondas
- OM y OL
- Tensión de funcionamiento
- Red / Baterías o pilas / 200-250 / 7,5 & 90 Volt
- Altavoz
- Altavoz dinámico (de imán permanente)
- Material
- Cuero/Tela/ Plástico sobre otros materiales
- de Radiomuseum.org
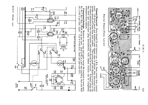
- Modelo: 1451 - HMV Brand, His Masters Voice,
- Forma
- Portátil > 20 cm (sin la necesidad de una red)
- Ancho, altura, profundidad
- 260 x 160 x 115 mm / 10.2 x 6.3 x 4.5 inch
- Mencionado en
- -- Original-techn. papers.
- Autor
- Modelo creado por Mario Coelho. Ver en "Modificar Ficha" los participantes posteriores.
- Otros modelos
-
Donde encontrará 429 modelos, 340 con imágenes y 244 con esquemas.
Ir al listado general de HMV (Brand), His Masters Voice, The Gramophone Company Ltd.; Middlesex