Electrogram G1-C1 Ch= G1
His Master's Voice (HMV, H.M.V.), EMI (Australia) Ltd.; Sydney, NSW
- Country
- Australia
- Manufacturer / Brand
- His Master's Voice (HMV, H.M.V.), EMI (Australia) Ltd.; Sydney, NSW
- Year
- 1958/1959
- Category
- Audio Amplifier or -mixer
- Radiomuseum.org ID
- 310589
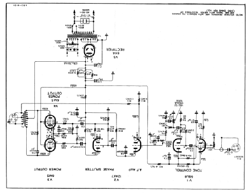
Click on the schematic thumbnail to request the schematic as a free document.
- Number of Tubes
- 5
- Main principle
- Audio-Amplification
- Wave bands
- - without
- Details
- Changer (Record changer)
- Power type and voltage
- Alternating Current supply (AC) / 200-250 Volt
- Loudspeaker
- Permanent Magnet Dynamic (PDyn) Loudspeaker (moving coil) - elliptical
- Material
- Wooden case
- from Radiomuseum.org
- Model: Electrogram G1-C1 Ch= G1 - His Master's Voice HMV, H.M.V.
- Shape
- Console with any shape - in general
- Dimensions (WHD)
- 36 x 34.5 x 18.5 inch / 914 x 876 x 470 mm
- Notes
-
Electrogram with 4-speed Garrard RC120/4H record changer.
Cabinet finishes available in Maple, Walnut & Rosewood.
- Net weight (2.2 lb = 1 kg)
- 93 lb 0 oz (93 lb) / 42.222 kg
- Price in first year of sale
- 131.25 AUS £
- Literature/Schematics (1)
- - - Manufacturers Literature (HMV Model Data Sheet.)
- Literature/Schematics (2)
- - - Manufacturers Literature (HMV Service Manual, Chassis Type G1.)
- Literature/Schematics (3)
- J.R. Publications Radio Service Handbook (R.V. Series Vol. 1, 1963, Page H57.)
- Author
- Model page created by Martin Kent. See "Data change" for further contributors.
- Other Models
-
Here you find 589 models, 414 with images and 284 with schematics for wireless sets etc. In French: TSF for Télégraphie sans fil.
All listed radios etc. from His Master's Voice (HMV, H.M.V.), EMI (Australia) Ltd.; Sydney, NSW