- Paese
- Spagna
- Produttore / Marca
- Iberia Radio, S.A.; Barcelona
- Anno
- 1942
- Categoria
- Radio (o sintonizzatore del dopoguerra WW2)
- Radiomuseum.org ID
- 94534
Clicca sulla miniatura dello schema per richiederlo come documento gratuito.
- Numero di tubi
- 4
- Principio generale
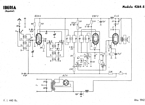
- Supereterodina (in generale); ZF/IF 440 kHz; 2 Stadi BF; Reflex
- N. di circuiti accordati
- 6 Circuiti Mod. Amp. (AM)
- Gamme d'onda
- Onde medie (OM) e 2 gamme di onde corte (2 x OC).
- Tensioni di funzionamento
- Alimentazione a corrente alternata (CA) / 110 Volt
- Altoparlante
- AP elettrodinamico (bobina mobile e bobina di eccitazione/di campo)
- Materiali
- Mobile in legno
- Radiomuseum.org
- Modello: 4264-E - Iberia Radio, S.A.; Barcelona
- Forma
- Soprammobile basso, con andamento orizzontale (grosse dimensioni).
- Annotazioni
- Der Empfänger 4264E hat die Empfangsbereiche KW1 von 16 bis 40 m, KW2 von 30 bis 80 m und MW von 200 bis 600 m. Die ZF- Verstärkerröhre EBF2 kann in Reflexschaltung zur zusätzlichen NF- Verstärkung herangezogen werden. Die Umschaltung übernimmt der Schalter direkt / Reflex / Phono.
- Letteratura / Schemi (1)
- -- Schematic
- Autore
- Modello inviato da Miguel Bravo-Cos. Utilizzare "Proponi modifica" per inviare ulteriori dati.
- Altri modelli
-
In questo link sono elencati 268 modelli, di cui 226 con immagini e 176 con schemi.
Elenco delle radio e altri apparecchi della Iberia Radio, S.A.; Barcelona
Collezioni
Il modello fa parte delle collezioni dei seguenti membri.