TP-1064
Iberia Radio, S.A.; Barcelona
- Country
- Spain
- Manufacturer / Brand
- Iberia Radio, S.A.; Barcelona
- Year
- 1970 ??
- Category
- Broadcast Receiver - or past WW2 Tuner
- Radiomuseum.org ID
- 224610
Click on the schematic thumbnail to request the schematic as a free document.
- Number of Transistors
- 6
- Main principle
- Superheterodyne (common); ZF/IF 450 kHz
- Wave bands
- Broadcast only (MW).
- Power type and voltage
- Dry Batteries / 1 x 9 Volt
- Loudspeaker
- Permanent Magnet Dynamic (PDyn) Loudspeaker (moving coil) / Ø 2.25 inch = 5.7 cm
- Material
- Plastics (no bakelite or catalin)
- from Radiomuseum.org
- Model: TP-1064 - Iberia Radio, S.A.; Barcelona
- Shape
- Very small Portable or Pocket-Set (Handheld) < 8 inch.
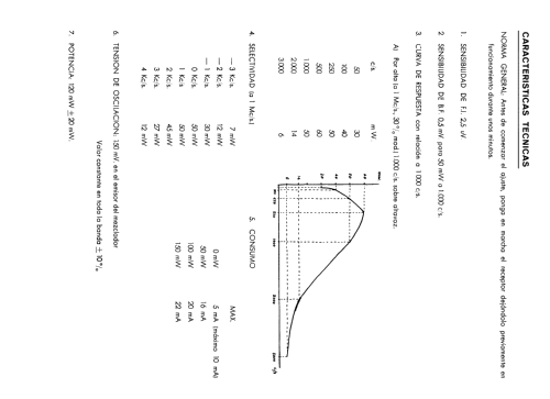
- Literature/Schematics (1)
- -- Original-techn. papers.
- Author
- Model page created by Miguel Bravo-Cos. See "Data change" for further contributors.
- Other Models
-
Here you find 268 models, 226 with images and 176 with schematics for wireless sets etc. In French: TSF for Télégraphie sans fil.
All listed radios etc. from Iberia Radio, S.A.; Barcelona