- Paese
- Germania
- Produttore / Marca
- Lumophon, Bruckner & Stark, BSN; Nürnberg
- Anno
- 1931/1932
- Categoria
- Radio (o sintonizzatore del dopoguerra WW2)
- Radiomuseum.org ID
- 3290
-
- Brand: Lumeta
Clicca sulla miniatura dello schema per richiederlo come documento gratuito.
- Numero di tubi
- 3
- Principio generale
- A reazione (con rigenerazione); 2 Stadi BF
- N. di circuiti accordati
- 1 Circuiti Mod. Amp. (AM)
- Gamme d'onda
- Onde medie (OM) e onde lunghe (OL).
- Tensioni di funzionamento
- Alimentazione a corrente continua (CC) / 110/220 Volt
- Altoparlante
- - Per cuffie o amplificatori esterni
- Radiomuseum.org
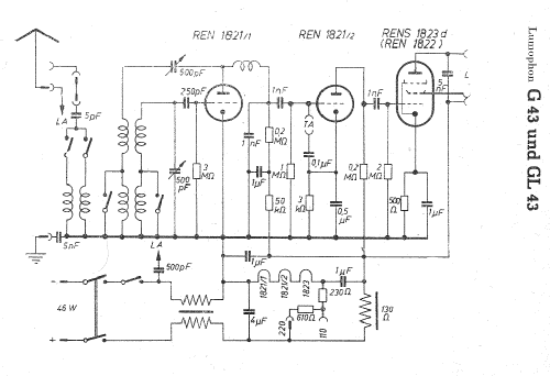
- Modello: G43 - Lumophon, Bruckner & Stark,
- Fonte dei dati
- Radiokatalog Band 1, Ernst Erb
- Riferimenti schemi
- Lange + FS-Bestückungstabellen
- Altri modelli
-
In questo link sono elencati 303 modelli, di cui 255 con immagini e 201 con schemi.
Elenco delle radio e altri apparecchi della Lumophon, Bruckner & Stark, BSN; Nürnberg