Baby 14 Ch= 438
Marconi (marque), Cie. Fse. du Gramophone; Paris
- Country
- France
- Manufacturer / Brand
- Marconi (marque), Cie. Fse. du Gramophone; Paris
- Year
- 1938 ?
- Category
- Broadcast Receiver - or past WW2 Tuner
- Radiomuseum.org ID
- 17819
Click on the schematic thumbnail to request the schematic as a free document.
- Number of Tubes
- 4
- Main principle
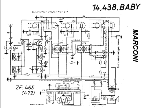
- Superheterodyne (common); ZF/IF 465 kHz
- Wave bands
- Broadcast, Long Wave and Short Wave.
- Power type and voltage
- Alternating Current supply (AC) / 110; 130; 220; 250 Volt
- Loudspeaker
- Electro Magnetic Dynamic LS (moving-coil with field excitation coil)
- Material
- Bakelite case
- from Radiomuseum.org
- Model: Baby 14 Ch= 438 - Marconi marque, Cie. Fse. du
- Shape
- Tablemodel, low profile (big size).
- Dimensions (WHD)
- 420 x 240 x 230 mm / 16.5 x 9.4 x 9.1 inch
- Notes
-
3 gammes d'ondes: OC 17 à 51 m, PO 200 à 550 m, GO 1000 à 2000 m. Antifading.
Coffret bakélite de teinte foncée. Existe en version pour 25 et 50 périodes (deux modèles).
Équivalent au Pathé 438.
Le modèle est également appelé "Baby" dans la Schémathèque Thali (Suisse).
- Net weight (2.2 lb = 1 kg)
- 6.850 kg / 15 lb 1.4 oz (15.088 lb)
- Price in first year of sale
- 1,350.00 FRF
- External source of data
- E. Erb 3-907007-36-0
- Source of data
- -- Original prospect or advert
- Circuit diagram reference
- Die «Thali Schemasammlung» führt das Modell.
- Literature/Schematics (1)
- -- Schematic
- Literature/Schematics (2)
- Le grand livre de la TSF (Doctsf Ref 5288)
- Other Models
-
Here you find 97 models, 79 with images and 33 with schematics for wireless sets etc. In French: TSF for Télégraphie sans fil.
All listed radios etc. from Marconi (marque), Cie. Fse. du Gramophone; Paris