Pioner {Пионер} after WW2
Minsk Radio Works; Minsk
- Country
- Soviet Union
- Manufacturer / Brand
- Minsk Radio Works; Minsk
- Year
- 1945 ?
- Category
- Broadcast Receiver - or past WW2 Tuner
- Radiomuseum.org ID
- 89892
-
- alternative name: Industrial Union Horizont || Minsk Works "Kalibr"
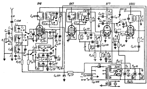
Click on the schematic thumbnail to request the schematic as a free document.
- Number of Tubes
- 5
- Main principle
- Superheterodyne (common); ZF/IF 468 kHz
- Tuned circuits
- 4 AM circuit(s)
- Wave bands
- Broadcast, Long Wave and Short Wave.
- Power type and voltage
- Alternating Current supply (AC) / 110; 127; 220 Volt
- Loudspeaker
- Permanent or electro-dynamic (moving coil), system not known yet.
- Power out
- 2 W (unknown quality)
- Material
- Wooden case
- from Radiomuseum.org
- Model: Pioner {Пионер} [after WW2] - Minsk Radio Works; Minsk
- Shape
- Tablemodel, low profile (big size).
- Dimensions (WHD)
- 490 x 320 x 315 mm / 19.3 x 12.6 x 12.4 inch
- Notes
- Prototype was "Elektrit", Poland (PL) radio set - model "Herold". Schemat - similar as Elektrit model "Regent".
- Other Models
-
Here you find 93 models, 89 with images and 59 with schematics for wireless sets etc. In French: TSF for Télégraphie sans fil.
All listed radios etc. from Minsk Radio Works; Minsk
Collections
The model Pioner {Пионер} is part of the collections of the following members.