Airline 74BR-2708A Order= 62 A 2708R
Montgomery Ward & Co. (Wards, Airline); Chicago, IL
- Produttore / Marca
- Montgomery Ward & Co. (Wards, Airline); Chicago, IL
- Anno
- 1947/1948
- Categoria
- Radio (o sintonizzatore del dopoguerra WW2)
- Radiomuseum.org ID
- 48311
-
- Brand: Airline or Air-Line
Clicca sulla miniatura dello schema per richiederlo come documento gratuito.
- Numero di tubi
- 8
- Principio generale
- Supereterodina con stadio RF; ZF/IF 455 kHz
- Gamme d'onda
- Onde medie (OM) e più di 2 gamme di onde corte (> 2 x OC).
- Particolarità
- Cambiadischi
- Tensioni di funzionamento
- Alimentazione a corrente alternata (CA) / 105 - 125 Volt
- Altoparlante
- AP elettrodinamico (bobina mobile e bobina di eccitazione/di campo) / Ø 12 inch = 30.5 cm
- Potenza d'uscita
- 5.5 W (qualità ignota)
- Materiali
- Mobile in legno
- Radiomuseum.org
- Modello: Airline 74BR-2708A Order= 62 A 2708R - Montgomery Ward & Co. Wards,
- Forma
- Console, con gambe d'appoggio basse (< 50%).
- Dimensioni (LxAxP)
- 37.75 x 37 x 16.25 inch / 959 x 940 x 413 mm
- Annotazioni
-
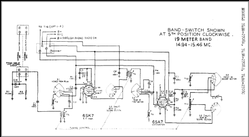
Frequency Ranges:
Broadcast band - 540 to 1600 kc
49-meter band - 5.96 to 6.19 mc
31-meter band - 9.1 to 10 mc
25-meter band - 11.45 to 12.16 mc
19-meter band - 14.94 to 15.46 mcSimilar model but with FM/AM chassis and 9 Tubes plus rectifier: Model Airline 74BR-2710A.
- Prezzo nel primo anno
- 189.95 $
- Fonte esterna dei dati
- Ernst Erb
- Riferimenti schemi
- Rider's Perpetual, Volume 18 = 1949 and before
- Bibliografia
- Montgomery Ward Catalogs (Wards, Airline) (Fall/Winter 1947/48, page 852B.)
- Altri modelli
-
In questo link sono elencati 2338 modelli, di cui 1472 con immagini e 1834 con schemi.
Elenco delle radio e altri apparecchi della Montgomery Ward & Co. (Wards, Airline); Chicago, IL