Xiongmao 熊猫 Panda 605
Nanjing 南京无线电厂 Nanjing Radio Factory, Nanjing
- Country
- People's Republic of China
- Manufacturer / Brand
- Nanjing 南京无线电厂 Nanjing Radio Factory, Nanjing
- Year
- 1958/1959
- Category
- Broadcast Receiver - or past WW2 Tuner
- Radiomuseum.org ID
- 177169
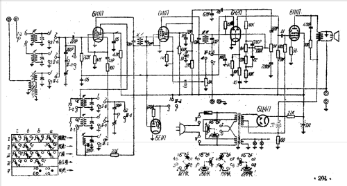
Click on the schematic thumbnail to request the schematic as a free document.
- Number of Tubes
- 6
- Main principle
- Superheterodyne (common); ZF/IF 465 kHz; 2 AF stage(s)
- Tuned circuits
- 6 AM circuit(s)
- Wave bands
- Broadcast plus 2 Short Wave bands.
- Power type and voltage
- Alternating Current supply (AC) / 110; 125; 220; 250 Volt
- Loudspeaker
- Permanent Magnet Dynamic (PDyn) Loudspeaker (moving coil)
- Material
- Bakelite case
- from Radiomuseum.org
- Model: Xiongmao 熊猫 Panda 605 - Nanjing 南京无线电厂 Nanjing Radio
- Shape
- Tablemodel, low profile (big size).
- Dimensions (WHD)
- 430 x 282 x 202 mm / 16.9 x 11.1 x 8 inch
- Notes
- The Xiongmao 熊猫 Panda models 507, 605 and 607 - with slightly different cabinet - have a full transformer and a magic eye as tuning indicator. We believe they have a bakelite cabinet. They receive broadcast 520 - 1600 kHz and SW 3.8 - 9 plus 9 - 18 MHz. Russian tube types in allglass technique, klick the tubes and you have the US or Europe equivalent. Probably only one of the models has this cabinet of Panda or Xiongmao 507, 605 or 607 - but we don't know which one yet.
- Literature/Schematics (1)
- 10-Broadcast Radio Manual, July 1959 (1958/59) (page 199 ff.)
- Author
- Model page created by Ernst Erb. See "Data change" for further contributors.
- Other Models
-
Here you find 56 models, 45 with images and 26 with schematics for wireless sets etc. In French: TSF for Télégraphie sans fil.
All listed radios etc. from Nanjing 南京无线电厂 Nanjing Radio Factory, Nanjing