112 Highboy Late
Philco, Philadelphia Stg. Batt. Co.; USA
- Country
- United States of America (USA)
- Manufacturer / Brand
- Philco, Philadelphia Stg. Batt. Co.; USA
- Year
- 1931/1932
- Category
- Broadcast Receiver - or past WW2 Tuner
- Radiomuseum.org ID
- 138605
Click on the schematic thumbnail to request the schematic as a free document.
- Number of Tubes
- 11
- Main principle
- Superhet with RF-stage; ZF/IF 175 kHz
- Wave bands
- Broadcast only (MW).
- Power type and voltage
- Alternating Current supply (AC) / 115 Volt
- Loudspeaker
- Electro Magnetic Dynamic LS (moving-coil with field excitation coil)
- Material
- Wooden case
- from Radiomuseum.org
- Model: 112 Highboy [Late] - Philco, Philadelphia Stg. Batt
- Shape
- Console, Highboy (legs > 50 %).
- Notes
-
Models 112 and 112A were high end superheterodyne radios for the 1931-32 model year and were available in a lowboy and highboy cabinet, both designed by Norman Bel Geddes. The highboy is sometimes called a "Louis XVI" style cabinet. In 1932 a new console with inclined sounding board was introduced as model 112X. Early versions of 112 and 112A used two 45 output tubes; late versions of 112 and 112A (and the only version of model 112X) used two 47 output tubes. Model 112 was designed for 115 VAC 50-60 Hz power; model 112A for 25-60 Hz. There was also an export version 112E for 230 VAC.
- Price in first year of sale
- 169.50 $
- Source of data
- Philco Radio 1928-1942
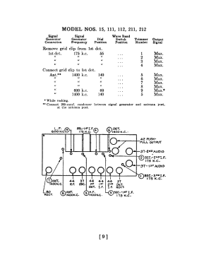
- Circuit diagram reference
- Rider's Perpetual, Volume 2 = 1932 (Models 1931/1932)
- Literature/Schematics (1)
- Philco Wiring Diagrams, Parts Lists, and Essential Service Data 1928-1936
- Literature/Schematics (2)
- Pre-War Consoles
- Literature/Schematics (3)
- Philco Folder 2674.
- Author
- Model page created by Thomas Albrecht. See "Data change" for further contributors.
- Other Models
-
Here you find 4120 models, 2228 with images and 3768 with schematics for wireless sets etc. In French: TSF for Télégraphie sans fil.
All listed radios etc. from Philco, Philadelphia Stg. Batt. Co.; USA