70A Baby Grand
Philco, Philadelphia Stg. Batt. Co.; USA
- Produttore / Marca
- Philco, Philadelphia Stg. Batt. Co.; USA
- Anno
- 1931/1932
- Categoria
- Radio (o sintonizzatore del dopoguerra WW2)
- Radiomuseum.org ID
- 18813
Clicca sulla miniatura dello schema per richiederlo come documento gratuito.
- Numero di tubi
- 7
- Principio generale
- Supereterodina con stadio RF; ZF/IF 260 kHz
- N. di circuiti accordati
- 6 Circuiti Mod. Amp. (AM)
- Gamme d'onda
- Solo onde medie (OM).
- Tensioni di funzionamento
- Alimentazione a corrente alternata (CA) / 115 Volt
- Altoparlante
- AP elettrodinamico (bobina mobile e bobina di eccitazione/di campo)
- Materiali
- Mobile in legno
- Radiomuseum.org
- Modello: 70A Baby Grand - Philco, Philadelphia Stg. Batt
- Forma
- Soprammobile a cattedrale o cupola (upright, round top or pinted arch, not rounded edges only).
- Dimensioni (LxAxP)
- 16.5 x 18 x 10 inch / 419 x 457 x 254 mm
- Annotazioni
-
Model 70 was available in a cathedral cabinet, a lowboy, and a highboy. The cathedral cabinet is the classic design used for models 21, 35, 46, 70, and 90, designed by Edward L. Combs. The cathedral radios are very popular and sought by collectors. Both mahogany and walnut versions were available for the model 70 cathedral cabinet. Model 70 is for 50-60 Hz power; model 70A is for 25-60 Hz power. There may have been a late version of model 70A using tubes 35 24 35 27 35 47 80. Nearly 300,000 Philco 70 radios were sold.
- Prezzo nel primo anno
- 49.95 $
- Fonte esterna dei dati
- E. Erb 3-907007-36-0
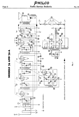
- Riferimenti schemi
- Die «Thali Schemasammlung» führt das Modell.
- Bibliografia
- Philco Radio 1928-1942
- Letteratura / Schemi (1)
- Rider's Perpetual, Volume 1 = 1931/1934 (1919 to 1931) (Philco 1928-36 Wiring Diagrams, Parts Lists, and Essential Service Data)
- Letteratura / Schemi (3)
- Philco Folder 2674.
- Altri modelli
-
In questo link sono elencati 4120 modelli, di cui 2228 con immagini e 3768 con schemi.
Elenco delle radio e altri apparecchi della Philco, Philadelphia Stg. Batt. Co.; USA
Collezioni
Il modello 70A fa parte delle collezioni dei seguenti membri.