H4680WR Ch= 10L42
Philco, Philadelphia Stg. Batt. Co.; USA
- Pays
- Etats-Unis
- Fabricant / Marque
- Philco, Philadelphia Stg. Batt. Co.; USA
- Année
- 1959
- Catégorie
- Récepteur de télévision ou moniteur
- Radiomuseum.org ID
- 213451
Cliquez sur la vignette du schéma pour le demander en tant que document gratuit.
- No. de tubes
- 15
- Lampes / Tubes
- 6X8 6BC8 6AM8A or 6AM8 6DE6 6DE6 6BQ5 6DR7 6CS6 6U8 or 6U8A or 6EA8 6CG7 6AW8A 6DA4 6DQ6A 1G3GT 21EVP4
- Principe général
- Super hétérodyne avec étage HF
- Gammes d'ondes
- VHF/UHF (voir details en note)
- Tension / type courant
- Alimentation Courant Alternatif (CA) / 105-120 Volt
- Haut-parleur
- HP dynamique oval à aimant permanent
- Matière
- Boitier en bois
- De Radiomuseum.org
- Modèle: H4680WR Ch= 10L42 - Philco, Philadelphia Stg. Batt
- Forme
- Console de forme générique
- Remarques
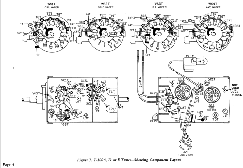
- The Philco H4680WR is a 21" b/w TV with US standard VHF tuner channels 2 thru 13. Equipped with chassis 10L42, VHF tuner T-100A and picture tube 21EVP4. Uses Qty(1) 4" x 6" Elliptical PM speaker.
- Source
- - - Manufacturers Literature
- Schémathèque (1)
- Photofact Folder, Howard W. SAMS (Date 12-59, Set 466, Folder 1)
- Auteur
- Modèle crée par John Kusching. Voir les propositions de modification pour les contributeurs supplémentaires.
- D'autres Modèles
-
Vous pourrez trouver sous ce lien 4120 modèles d'appareils, 2229 avec des images et 3768 avec des schémas.
Tous les appareils de Philco, Philadelphia Stg. Batt. Co.; USA