- País
- Ungheria
- Fabricante / Marca
- Philips Hungary, Rádió és Villamossági Rt., Magyar Philips; Budapest
- Año
- 1941
- Categoría
- Radio - o Sintonizador pasado WW2
- Radiomuseum.org ID
- 97932
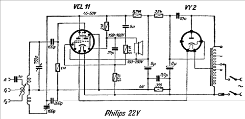
Haga clic en la miniatura esquemática para solicitarlo como documento gratuito.
- Numero de valvulas
- 2
- Principio principal
- RFS con reacción (regenerativo)
- Número de circuitos sintonía
- 1 Circuíto(s) AM
- Tensión de funcionamiento
- Red: Corriente alterna (CA, Inglés = AC) / 110-240 Volt
- Altavoz
- Altavoz magnético de membrana libre, sin suspensión.
- Material
- Bakelita
- de Radiomuseum.org
- Modelo: Néprádió 22V - Philips Hungary, Rádió és
- Forma
- Sobremesa de tamaño mediano sin botonera <= 35 cm. (Incluso portables pero sólo con alimantación por red).
- Ancho, altura, profundidad
- 240 x 250 x 120 mm / 9.4 x 9.8 x 4.7 inch
- Anotaciones
- Ähnlich wie DKE. Spartrafo.
- Precio durante el primer año
- 45.00 Pengő
- Mencionado en
- Rádiókészülékek Kapcsolásai 1936-56
- Autor
- Modelo creado por Folkert Rothe. Ver en "Modificar Ficha" los participantes posteriores.
- Otros modelos
-
Donde encontrará 230 modelos, 221 con imágenes y 132 con esquemas.
Ir al listado general de Philips Hungary, Rádió és Villamossági Rt., Magyar Philips; Budapest
Colecciones
El modelo Néprádió es parte de las colecciones de los siguientes miembros.