- Pays
- Pays-Bas
- Fabricant / Marque
- Philips; Eindhoven (tubes international!); Miniwatt
- Année
- 1932/1933
- Catégorie
- Radio - ou tuner d'après la guerre 1939-45
- Radiomuseum.org ID
- 29576
Cliquez sur la vignette du schéma pour le demander en tant que document gratuit.
- No. de tubes
- 5
- Principe général
- Récepteur TRF - sans réaction (pas régénératif)
- Circuits accordés
- 2 Circuits MA (AM)
- Gammes d'ondes
- PO et GO
- Particularités
- Tourne disque sans changeur
- Tension / type courant
- Alimentation Courant Alternatif (CA) / 103; 111; 118; 127; 135; 143; 155; 186; 210; 225; 240; 253 Volt
- Haut-parleur
- HP dynamique à aimant permanent + bobine mobile / Ø 21 cm = 8.3 inch
- Matière
- Boitier en bois
- De Radiomuseum.org
- Modèle: 870A - Philips; Eindhoven tubes
- Forme
- Console de forme générique
- Remarques
-
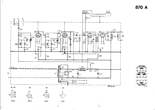
Same chassis as model 830A.
Loudspeaker type 2157.
Super-Inductive principle.
Grid detection on E428.
The mains voltage for the record player must be selected separately from 3 ranges: 99-130V, 130-160V or 187-260V.
- Prix de mise sur le marché
- 375.00 hfl
- Schémathèque (1)
- -- Original-techn. papers.
- Auteur
- Modèle crée par Iven Müller. Voir les propositions de modification pour les contributeurs supplémentaires.
- D'autres Modèles
-
Vous pourrez trouver sous ce lien 5280 modèles d'appareils, 4428 avec des images et 3461 avec des schémas.
Tous les appareils de Philips; Eindhoven (tubes international!); Miniwatt