246B
Philips - Schweiz
- Paese
- Svizzera
- Produttore / Marca
- Philips - Schweiz
- Anno
- 1936/1937
- Categoria
- Autoradio, eventualmente con registratore a cassette o giradischi
- Radiomuseum.org ID
- 13249
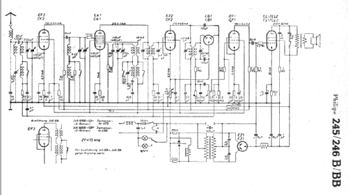
Clicca sulla miniatura dello schema per richiederlo come documento gratuito.
- Numero di tubi
- 7
- Principio generale
- Supereterodina con stadio RF; ZF/IF 115 kHz
- Tensioni di funzionamento
- Batteria di accumulatori, per tutto (es. autoradio, radio amatoriali) / 12 Volt
- Altoparlante
- AP presumibilmente dinamico (bobina mobile)
- Radiomuseum.org
- Modello: 246B - Philips - Schweiz
- Fonte esterna dei dati
- E. Erb 3-907007-36-0
- Fonte dei dati
- Radiokatalog Band 2, Ernst Erb
- Riferimenti schemi
- Die Tungsram-Tabellen führen das Modell auf.
- Altri modelli
-
In questo link sono elencati 290 modelli, di cui 216 con immagini e 224 con schemi.
Elenco delle radio e altri apparecchi della Philips - Schweiz