Video-Adapter LDL1301/00
Philips Radios - Deutschland
- Pays
- Allemagne
- Fabricant / Marque
- Philips Radios - Deutschland
- Année
- 1969 ??
- Catégorie
- Adaptateur ou convertisseur de fréquences (OC/MF/VHF/UFH)
- Radiomuseum.org ID
- 179568
-
- Brand: Deutsche Philips-Ges.
Cliquez sur la vignette du schéma pour le demander en tant que document gratuit.
- No. de transistors
- Semi-conducteurs présents
- Semi-conducteurs
- Gammes d'ondes
- - sans
- Tension / type courant
- Alimentation externe ou alimentation principale / 12 Volt
- Haut-parleur
- - - Pas de sortie basse fréquence
- Matière
- Plastique moderne (pas de bakélite, ni de catalin)
- De Radiomuseum.org
- Modèle: Video-Adapter LDL1301/00 - Philips Radios - Deutschland
- Forme
- Chassis (pour intégration dans meuble)
- Dimensions (LHP)
- 160 x 110 x 50 mm / 6.3 x 4.3 x 2 inch
- Remarques
-
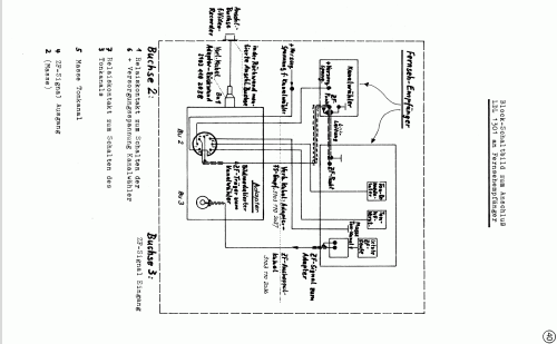
Adapter zum Anschluss eines Videorecorders LDL1002 an ein normales TV Gerät.
- Auteur
- Modèle crée par Peter Hoddow. Voir les propositions de modification pour les contributeurs supplémentaires.
- D'autres Modèles
-
Vous pourrez trouver sous ce lien 2548 modèles d'appareils, 2260 avec des images et 1565 avec des schémas.
Tous les appareils de Philips Radios - Deutschland
Collections
Le modèle Video-Adapter fait partie des collections des membres suivants.