Vacuum Tube Voltmeter (VTVM) TS-618/U
MILITARY U.S. (different makers for same model)
- Country
- United States of America (USA)
- Manufacturer / Brand
- MILITARY U.S. (different makers for same model)
- Year
- 1960/1955
- Category
- Service- or Lab Equipment
- Radiomuseum.org ID
- 83675
Click on the schematic thumbnail to request the schematic as a free document.
- Number of Tubes
- 1
- Valves / Tubes
- 6418
- Main principle
- something special ? Please give information (notes)
- Power type and voltage
- Line / Batteries (any type) / 45; 3; 1.5 Volt
- Material
- Metal case
- from Radiomuseum.org
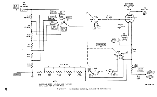
- Model: Vacuum Tube Voltmeter TS-618/U - MILITARY U.S. different makers
- Shape
- Portable set > 8 inch (also usable without mains)
- Dimensions (WHD)
- 109 x 228 x 138 mm / 4.3 x 9 x 5.4 inch
- Notes
- Vacuum Tube Voltmeter. Powered by battery supply PP-1247/PRM-15 or mains supply PP-713/PRM-15. Different manufacturers.
- Net weight (2.2 lb = 1 kg)
- 3.1 kg / 6 lb 13.3 oz (6.828 lb)
- Source of data
- -- Collector info (Sammler)
- Mentioned in
- Department of the Army Technical Manual: TM11-5090
- Literature/Schematics (1)
- .
- Other Models
-
Here you find 408 models, 360 with images and 215 with schematics for wireless sets etc. In French: TSF for Télégraphie sans fil.
All listed radios etc. from MILITARY U.S. (different makers for same model)
Collections
The model Vacuum Tube Voltmeter (VTVM) is part of the collections of the following members.