- País
- Gran Bretaña (GB)
- Fabricante / Marca
- Pye Ltd., Radio Works; Cambridge
- Año
- 1944
- Categoría
- Receptor profesional (puede incluir bandas de aficionados)
- Radiomuseum.org ID
- 93749
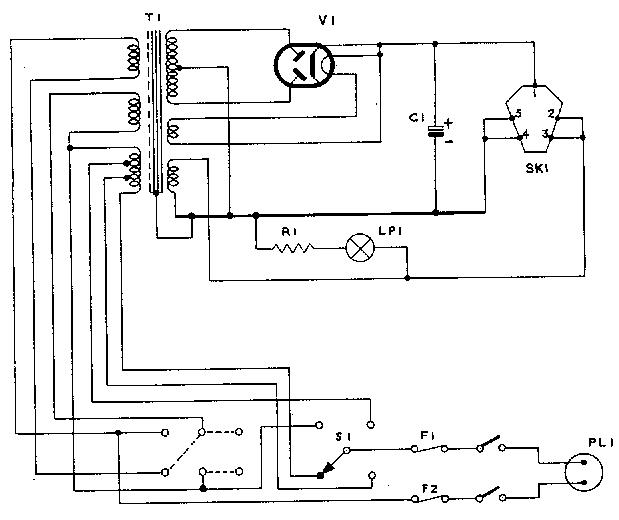
Haga clic en la miniatura esquemática para solicitarlo como documento gratuito.
- Numero de valvulas
- 6
- Principio principal
- Superheterodino con paso previo de RF; ZF/IF 465 kHz
- Gama de ondas
- OM, OL y OC
- Tensión de funcionamiento
- Alimentado desde otro equipo o aparato principal. / 250 / 12 Volt
- Altavoz
- Altavoz electrodinámico (bobina de campo)
- Potencia de salida
- 2.5 W (unknown quality)
- Material
- Metálico
- de Radiomuseum.org
- Modelo: P.C.R. - Pye Ltd., Radio Works;
- Forma
- Sobremesa apaisado (tamaño grande).
- Ancho, altura, profundidad
- 17 x 10 x 8 inch / 432 x 254 x 203 mm
- Anotaciones
- Communication receiver intended for information of troops and civilians in Operation Overlord and later for Troop entertainment.
Several variants (see separate model entries): PCR1 / ZA26707: original model, internal speaker, output tube EL32/VT52, set constructed using many parts from WS22, fits in WS19 cabinet.
PCR2 / ZA27718: no internal speaker, shortwave coverage 6-22 MHz.
PCR3 / ZA26939: no internal speaker, longwaves omitted, two shortwave ranges 2.3-7.3 and 7-23 MHz.
PCR3 Mk1/1: ZA36009
PCR3 Mk1/2 / PCR3 TPL: ZA30607.
- Mencionado en
- Wireless for the Warrior Vol.3
- Documentación / Esquemas (1)
- -- Schematic
- Autor
- Modelo creado por un miembro de A. Ver en "Modificar Ficha" los participantes posteriores.
- Otros modelos
-
Donde encontrará 634 modelos, 490 con imágenes y 343 con esquemas.
Ir al listado general de Pye Ltd., Radio Works; Cambridge
Colecciones
El modelo P.C.R. es parte de las colecciones de los siguientes miembros.
Contribuciones en el Foro acerca de este modelo: Pye Ltd., Radio: P.C.R.
Hilos: 1 | Mensajes: 1
Il ricevitore PCR presente in archivio è difforme da uno analogo acquistato tramite eBay. Infatti, quello in archivio risulta comprensivo del sistema di alimentazione. Dalla documentazione che allego risulta che le versioni del ricevitore sono quattro: PCR, PCR1, PCR2 e PCR3. Tutte sono alimentate tramite appositi alimentatori separati dal ricevitore collegati tramite una connessione volante. La nota che allego mostra quanto detto. L'esemplare in oggetto è stato ripristinato mediante la sostituzione del condensatore C24 riportato in figura 1. Solo il primo PCR ha l'altoparlante incorporato, le versioni successive ne sono sprovviste. Dalle date riportate su alcuni componenti presenti all'interno del ricevitore si può affermare che la serie P.C.R. è stata prodotta dal 1944 in poi.
Anexos
- Ulteriori notizie sul PCR (182 KB)
- Alimentatore ac (45 KB)
- Alimentatore dc (68 KB)
Vincenzo Auer, 24.May.06