Detefon RDI.s.I PZT
PZT - Państwowe Zakłady Tele- i Radiotechniczne; Warsawa
- País
- Polonia
- Fabricante / Marca
- PZT - Państwowe Zakłady Tele- i Radiotechniczne; Warsawa
- Año
- 1932–1939
- Categoría
- Radio de Galena (o de diodo pero no contiene tubos o transistores)
- Radiomuseum.org ID
- 112380
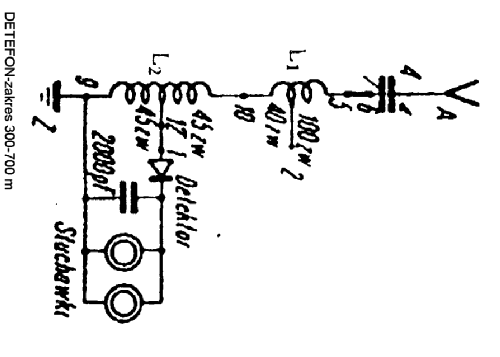
Haga clic en la miniatura esquemática para solicitarlo como documento gratuito.
- Principio principal
- Detector de Galena o semi-conducteur
- Número de circuitos sintonía
- 1 Circuíto(s) AM
- Gama de ondas
- OM y OL
- Tensión de funcionamiento
- No necesita alimentación
- Altavoz
- - Este modelo usa amplificador externo de B.F.
- Material
- Bakelita
- de Radiomuseum.org
- Modelo: Detefon RDI.s.I [PZT] - PZT - Państwowe Zakłady Tele-
- Ancho, altura, profundidad
- 110 x 80 x 150 mm / 4.3 x 3.1 x 5.9 inch
- Anotaciones
- Firmenkennzeichen PZT befinden sich sichtbar am Bakelitgehäuse unter dem Kristallhalter und am Boden.
- Peso neto
- 0.4 kg / 0 lb 14.1 oz (0.881 lb)
- Precio durante el primer año
- 52.00 zl
- Procedencia de los datos
- - - Data from my own collection
- Mencionado en
- Zlote Lata Radia, Polen
- Otros modelos
-
Donde encontrará 25 modelos, 22 con imágenes y 7 con esquemas.
Ir al listado general de PZT - Państwowe Zakłady Tele- i Radiotechniczne; Warsawa
Colecciones
El modelo Detefon es parte de las colecciones de los siguientes miembros.