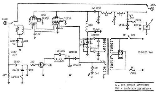
Linear Amplifier MAC 120 L-120A
Quantum Indústria de Equipamentos Eletrônicos LTDA; São Paulo
- Pays
- Brésil
- Fabricant / Marque
- Quantum Indústria de Equipamentos Eletrônicos LTDA; São Paulo
- Année
- 1980 ??
- Catégorie
- Amplificateur HF
- Radiomuseum.org ID
- 272461
Cliquez sur la vignette du schéma pour le demander en tant que document gratuit.
- No. de tubes
- 2
- No. de transistors
- 1
- Principe général
- Amplification haute fréquence (seulement)
- Gammes d'ondes
- OC uniquement
- Tension / type courant
- Alimentation Courant Alternatif (CA) / 110/220 Volt
- Haut-parleur
- - - Pas de sortie basse fréquence
- Puissance de sortie
- 150 W (sans distorsion)
- Matière
- Boitier métallique
- De Radiomuseum.org
- Modèle: Linear Amplifier MAC 120 L-120A - Quantum Indústria de
- Forme
- Modèle de table générique
- Dimensions (LHP)
- 125 x 150 x 265 mm / 4.9 x 5.9 x 10.4 inch
- Remarques
-
MAC120 is a linear amplifier
designed for 26 to 32 MHz, suitable for radioamateurs working on 10m bandOutput power: 150 W PEP on SSB and 50 W AM.
Input power (for full output): 4 W.
Nominal impedance (in and out): 50 Ohms.
Operation modes: AM, FM, SSB and CW
- Poids net
- 5 kg / 11 lb 0.2 oz (11.013 lb)
- Schémathèque (1)
- - - Manufacturers Literature
- Auteur
- Modèle crée par Antonio Rabitti. Voir les propositions de modification pour les contributeurs supplémentaires.
- D'autres Modèles
-
Vous pourrez trouver sous ce lien 7 modèles d'appareils, 7 avec des images et 2 avec des schémas.
Tous les appareils de Quantum Indústria de Equipamentos Eletrônicos LTDA; São Paulo