Silvertone 1911 Order= 57LM 1911
Sears, Roebuck & Co.; Chicago (IL)
- Pays
- Etats-Unis
- Fabricant / Marque
- Sears, Roebuck & Co.; Chicago (IL)
- Année
- 1936

- Catégorie
- Radio - ou tuner d'après la guerre 1939-45
- Radiomuseum.org ID
- 56016
-
- Brand: Silvertone
Cliquez sur la vignette du schéma pour le demander en tant que document gratuit.
- No. de tubes
- 6
- Principe général
- Super hétérodyne (en général); FI/IF 175 kHz; 2 Etage(s) BF
- Circuits accordés
- 6 Circuits MA (AM)
- Gammes d'ondes
- GO, OC et Police (Maritime)
- Tension / type courant
- Alimentation Courant Alternatif (CA) / Either 25 cycles, 110 to 120V or 50 to 60 cycles, 110 to 120 Volt
- Haut-parleur
- HP dynamique à électro-aimant (électrodynamique) / Ø 6 inch = 15.2 cm
- Matière
- Boitier en bois
- De Radiomuseum.org
- Modèle: Silvertone 1911 Order= 57LM 1911 - Sears, Roebuck & Co.; Chicago
- Forme
- Console avec pieds bas < 50% de la hauteur
- Dimensions (LHP)
- 21.375 x 11.125 x 36.5 inch / 543 x 283 x 927 mm
- Remarques
-
The Sears Silvertone 1911 is an AC operated 6 tube BC, Police and SW band receiver.
Band Frequency Ranges are as follows:
BC Band (Band A).............540-1600kHz
Police Band (Band B)........1.58-5.10MHz
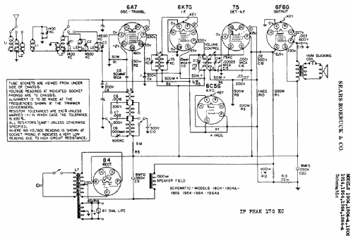
SW Band (Band C)............5.8-15.5MHzUses variable inductive coupling of 2nd IF as volume control. Minor production changes made as listed in Sears Service Manual and Rider's 7-14. Chassis and schematic used in this model also used in models 1904, 1904A, 1906, 1908, 1914, 1938, 1954, 1964, 1964A and 1984.
Catalog States: Automatic Volume Control, Personal Tone Control, Fine New Airplane Dial, Slow Speed Tuning 17 to 1 ratio, Full Range Dynamic Speaker, clear life-like tone. Improved Superheterodyne circuit, 3-Gang Condenser and chassis, rubber mounted.
Distintively styled cabinet with beautifully grained Walnut Veneer fronts of Artistic Design. Top and sides are Walnut finish.
Order number 57LM 1911 Cash Price $ 29.95. See details and summaries about Sears catalogs etc. This model was manufactured for Sears by Colonial Radio Corp., Buffalo, NY (Sears Manufacturer Source Number Code 101).
- Prix de mise sur le marché
- 29.95 $
- Source extérieure
- Ernst Erb
- Source du schéma
- Rider's Perpetual, Volume 7 = 1936 and before
- Littérature
- Collector's Guide to Antique Radios 4. Edition
- Schémathèque (1)
- Pre-War Consoles (Riders 6-44, 45 ; 7-14)
- Schémathèque (2)
- The Sears Silvertone Catalogs 1930-1942 (page 102)
- Schémathèque (3)
- Sears, Roebuck Catalogs (Silvertone) (# 172, Spring & Summer 1936, page 546.)
- Schémathèque (4)
- Silvertone Radios, Service Inf. 1928 thru 1936 (Pages 663 to 672)
- D'autres Modèles
-
Vous pourrez trouver sous ce lien 5527 modèles d'appareils, 3234 avec des images et 4235 avec des schémas.
Tous les appareils de Sears, Roebuck & Co.; Chicago (IL)