Silvertone 1999 Ch= 345X
Sears, Roebuck & Co.; Chicago (IL)
- País
- Estados Unidos
- Fabricante / Marca
- Sears, Roebuck & Co.; Chicago (IL)
- Año
- 1936
- Categoría
- Radio - o Sintonizador pasado WW2
- Radiomuseum.org ID
- 56118
-
- Brand: Silvertone
Haga clic en la miniatura esquemática para solicitarlo como documento gratuito.
- Numero de valvulas
- 5
- Principio principal
- Superheterodino en general; ZF/IF 175 kHz
- Número de circuitos sintonía
- 6 Circuíto(s) AM
- Gama de ondas
- OM y OC
- Tensión de funcionamiento
- Baterías recargables o pilas / 135 & 3 Volt
- Altavoz
- Altavoz magnético (sin saber mas)
- de Radiomuseum.org
- Modelo: Silvertone 1999 Ch= 345X - Sears, Roebuck & Co.; Chicago
- Anotaciones
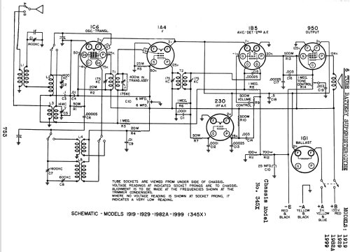
- 1G1 ballast tube.
- Ext. procedencia de los datos
- Ernst Erb
- Referencia esquema
- Rider's Perpetual, Volume 8 = 1937 and before
- Documentación / Esquemas (1)
- Riders 8-5, 6
- Otros modelos
-
Donde encontrará 5527 modelos, 3234 con imágenes y 4235 con esquemas.
Ir al listado general de Sears, Roebuck & Co.; Chicago (IL)