Silvertone 8919 Ch= 138.120
Sears, Roebuck & Co.; Chicago (IL)
- Land
- USA
- Hersteller / Marke
- Sears, Roebuck & Co.; Chicago (IL)
- Jahr
- 1940
- Kategorie
- NF-(Niederfrequenz-) Verstärker oder -Mixer
- Radiomuseum.org ID
- 57251
-
- Marke: Silvertone
Klicken Sie auf den Schaltplanausschnitt, um diesen kostenlos als Dokument anzufordern.
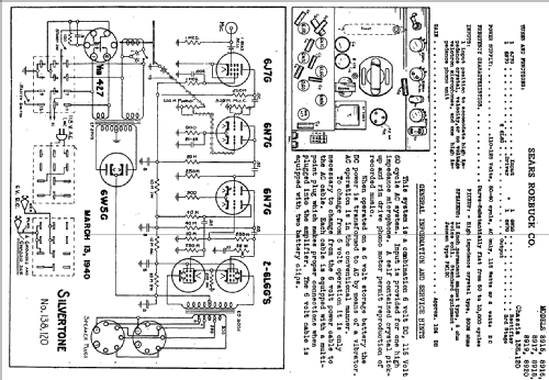
- Anzahl Röhren
- 6
- Wellenbereiche
- - ohne
- Betriebsart / Volt
- Netz / Akkus (evtl. plus Batterie) / 115V AC / 6 Volt
- Lautsprecher
- Dynamischer LS, keine Erregerspule (permanentdynamisch) / Ø 12 inch = 30.5 cm
- von Radiomuseum.org
- Modell: Silvertone 8919 Ch= 138.120 - Sears, Roebuck & Co.; Chicago
- Bemerkung
- Vibrator for +B in case of storage battery supply.
- Datenherkunft extern
- Ernst Erb
- Schaltungsnachweis
- Rider's Perpetual, Volume 14 = 1944 = before 1943
- Literatur/Schema (1)
- Riders 14-81
- Weitere Modelle
-
Hier finden Sie 5533 Modelle, davon 3234 mit Bildern und 4235 mit Schaltbildern.
Alle gelisteten Radios usw. von Sears, Roebuck & Co.; Chicago (IL)