- Pays
- Australie
- Fabricant / Marque
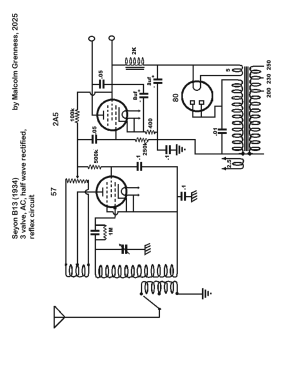
- Seyon (Brand), Noyes Bros (Sydney) Ltd. & Noyes Bros (Melbourne) Pty Ltd.
- Année
- 1934 ?
- Catégorie
- Radio - ou tuner d'après la guerre 1939-45
- Radiomuseum.org ID
- 363067
Cliquez sur la vignette du schéma pour le demander en tant que document gratuit.
- No. de tubes
- 3
- Principe général
- Récepteur TRF - par réaction (régénératif); 1 Etage(s) BF
- Circuits accordés
- 1 Circuits MA (AM)
- Gammes d'ondes
- PO uniquement
- Tension / type courant
- Alimentation Courant Alternatif (CA) / 200/230/250 Volt
- Haut-parleur
- HP dynamique à électro-aimant (électrodynamique) / Ø 5 inch = 12.7 cm
- Matière
- Boitier en bois
- De Radiomuseum.org
- Modèle: B13 - Seyon Brand, Noyes Bros Sydney
- Forme
- Modèle de table générique
- Dimensions (LHP)
- 12 x 8 x 6 inch / 305 x 203 x 152 mm
- Remarques
-
Seyon B13 (1934) – Features a curved top design, though a flat/stepped top version was also produced. Fitted with a 5-inch Rola speaker and Radiotron valves. The central knob functions as a switch to an alternative aerial lead, which appears to have been an original optional feature.
The escutcheons are identical to those used on the Van Ruyten B14.
- Prix de mise sur le marché
- 10.50 £
- Littérature
- -- Original prospect or advert
- Auteur
- Modèle crée par Sound Museum Bellerive Tasmania. Voir les propositions de modification pour les contributeurs supplémentaires.
- D'autres Modèles
-
Vous pourrez trouver sous ce lien 37 modèles d'appareils, 18 avec des images et 2 avec des schémas.
Tous les appareils de Seyon (Brand), Noyes Bros (Sydney) Ltd. & Noyes Bros (Melbourne) Pty Ltd.
Collections
Le modèle fait partie des collections des membres suivants.