Air Castle AP2460
Spiegel Inc. (Continental); Chicago
- Produttore / Marca
- Spiegel Inc. (Continental); Chicago
- Anno
- 1940
- Categoria
- Autoradio, eventualmente con registratore a cassette o giradischi
- Radiomuseum.org ID
- 59668
Clicca sulla miniatura dello schema per richiederlo come documento gratuito.
- Numero di tubi
- 7
- Principio generale
- Supereterodina con stadio RF; ZF/IF 262 kHz; 2 Stadi BF
- N. di circuiti accordati
- 7 Circuiti Mod. Amp. (AM)
- Gamme d'onda
- Solo onde medie (OM).
- Tensioni di funzionamento
- Batteria di accumulatori, per tutto (es. autoradio, radio amatoriali) / 6 Volt
- Altoparlante
- AP elettrodinamico (bobina mobile e bobina di eccitazione/di campo) / Ø 6.5 inch = 16.5 cm
- Materiali
- Mobile di metallo
- Radiomuseum.org
- Modello: Air Castle AP2460 - Spiegel Inc. Continental;
- Forma
- Chassis o in scatola da montaggio
- Dimensioni (LxAxP)
- 10.5 x 6.625 x 6.5 inch / 267 x 168 x 165 mm
- Annotazioni
-
Vibrator for B+.
- Prezzo nel primo anno
- 29.95 $
- Fonte esterna dei dati
- Ernst Erb
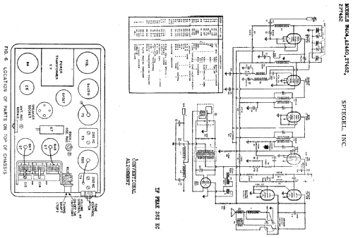
- Riferimenti schemi
- Rider's Perpetual, Volume 13 = 1942 and before
- Bibliografia
- Spiegel Catalogs (Aircastle) (Spring/Summer 1940, No. 149, page 464.)
- Letteratura / Schemi (1)
- Riders 11-18
- Altri modelli
-
In questo link sono elencati 1283 modelli, di cui 558 con immagini e 1048 con schemi.
Elenco delle radio e altri apparecchi della Spiegel Inc. (Continental); Chicago