Ascot 1
Teral; Paris
- Paese
- Francia
- Produttore / Marca
- Teral; Paris
- Anno
- 1963
- Categoria
- Radio (o sintonizzatore del dopoguerra WW2)
- Radiomuseum.org ID
- 141023
Clicca sulla miniatura dello schema per richiederlo come documento gratuito.
- Numero di transistor
- 6
- Semiconduttori
- Principio generale
- Supereterodina (in generale)
- Gamme d'onda
- Onde medie (OM) e onde lunghe (OL).
- Tensioni di funzionamento
- Batterie a secco / 2 x 4.5 Volt
- Altoparlante
- AP magnetodinamico (magnete permanente e bobina mobile)
- Radiomuseum.org
- Modello: Ascot 1 - Teral; Paris
- Forma
- Apparecchio portatile > 20 cm (senza la necessità di una rete)
- Dimensioni (LxAxP)
- 260 x 155 x 60 mm / 10.2 x 6.1 x 2.4 inch
- Annotazioni
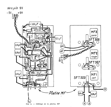
- 2 diodes, coffret cuir façon sellier, possède une commutation spéciale pour antenne voiture.
- Prezzo nel primo anno
- 229.00 FRF
- Letteratura / Schemi (1)
- Radio Constructeur et Dépanneur 1963
- Autore
- Modello inviato da Raynal Aufils. Utilizzare "Proponi modifica" per inviare ulteriori dati.
- Altri modelli
-
In questo link sono elencati 68 modelli, di cui 61 con immagini e 55 con schemi.
Elenco delle radio e altri apparecchi della Teral; Paris