Minitesla 4156AB
Tesla; Praha, Bratislava etc.
- Pays
- Checoslovaquia
- Fabricant / Marque
- Tesla; Praha, Bratislava etc.
- Année
- 1975–1977
- Catégorie
- Récepteur de télévision ou moniteur
- Radiomuseum.org ID
- 110252
-
- Brand: Supraphon
Cliquez sur la vignette du schéma pour le demander en tant que document gratuit.
- No. de tubes
- 1
- Lampes / Tubes
- A31-120W
- No. de transistors
- 23
- Semi-conducteurs
- Principe général
- Super hétérodyne (en général); FI/IF 38000 kHz
- Gammes d'ondes
- VHF/UHF (voir details en note)
- Tension / type courant
- Secteur et accus rechargeables (eventuellement piles) / 220 / 12 Volt
- Haut-parleur
- HP dynamique à aimant permanent + bobine mobile / Ø 10 cm = 3.9 inch
- Puissance de sortie
- 1 W (qualité inconnue)
- Matière
- Plastique moderne (pas de bakélite, ni de catalin)
- De Radiomuseum.org
- Modèle: Minitesla 4156AB - Tesla; Praha, Bratislava etc.
- Forme
- Portative > 20 cm (sans nécessité secteur)
- Dimensions (LHP)
- 330 x 270 x 320 mm / 13 x 10.6 x 12.6 inch
- Remarques
-
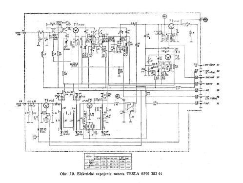
31 cm portable B/W- TV, 3 ICs, OIRT, VHF/ UHF- tuner band I - V with 4 preset buttons.
- Poids net
- 7.5 kg / 16 lb 8.3 oz (16.52 lb)
- Source
- -- Collector info (Sammler)
- Auteur
- Modèle crée par d'un membre de A. Voir les propositions de modification pour les contributeurs supplémentaires.
- D'autres Modèles
-
Vous pourrez trouver sous ce lien 1877 modèles d'appareils, 1205 avec des images et 689 avec des schémas.
Tous les appareils de Tesla; Praha, Bratislava etc.
Musées
Le modèle Minitesla peut être vu dans les musées suivants.