Function Generator TFG-8104
Topward Electric Instruments Co., Topwing Trading Co.; Taipei
- Country
- Taiwan (Republic of China)
- Manufacturer / Brand
- Topward Electric Instruments Co., Topwing Trading Co.; Taipei
- Year
- 2000 ??
- Category
- Service- or Lab Equipment
- Radiomuseum.org ID
- 321500
Click on the schematic thumbnail to request the schematic as a free document.
- Number of Transistors
- Semiconductors present.
- Semiconductors
- Power type and voltage
- Alternating Current supply (AC) / 115; 230 Volt
- Loudspeaker
- - For headphones or amp.
- Material
- Plastics (no bakelite or catalin)
- from Radiomuseum.org
- Model: Function Generator TFG-8104 - Topward Electric Instruments
- Shape
- Book-shelf unit.
- Notes
-
Topward Electric Instruments Co., Ltd., TFG-8104
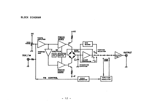
Function Generator with output adjustable from 0.1 Hz to 2 MHz in 7 ranges.
- Literature/Schematics (1)
- -- Original-techn. papers.
- Author
- Model page created by Miguel Bravo-Cos. See "Data change" for further contributors.
- Other Models
-
Here you find 4 models, 2 with images and 4 with schematics for wireless sets etc. In French: TSF for Télégraphie sans fil.
All listed radios etc. from Topward Electric Instruments Co., Topwing Trading Co.; Taipei