Trix-Radio-Car BMW-2000CS 9901 6 Transistoren
Trix Vereinigte Spielwarenfabriken, Nürnberg
- Paese
- Germania
- Produttore / Marca
- Trix Vereinigte Spielwarenfabriken, Nürnberg
- Anno
- 1967
- Categoria
- Radio (o sintonizzatore del dopoguerra WW2)
- Radiomuseum.org ID
- 112352
Clicca sulla miniatura dello schema per richiederlo come documento gratuito.
- Numero di transistor
- 6
- Principio generale
- Supereterodina (in generale); 2 Stadi BF
- N. di circuiti accordati
- 5 Circuiti Mod. Amp. (AM)
- Gamme d'onda
- Solo onde medie (OM).
- Tensioni di funzionamento
- Batterie a secco / 9 Volt
- Altoparlante
- AP magnetodinamico (magnete permanente e bobina mobile) / Ø 5 cm = 2 inch
- Materiali
- Plastica (non bachelite o catalina)
- Radiomuseum.org
- Modello: Trix-Radio-Car BMW-2000CS 9901 [6 Transistoren] - Trix Vereinigte
- Forma
- Radio di design, novelty, gadget, pubblicitaria o di forma inusuale
- Dimensioni (LxAxP)
- 80 x 58 x 208 mm / 3.1 x 2.3 x 8.2 inch
- Annotazioni
-
Trix-Radio-Car BMW 2000CS, 1967;
BMW-2000CS-Modell mit Sender- und Lautsprechereinstellung auf der Unterseite, Lautsprecher im Fahrgastraum, Ferritantenne.
Farbvarianten: beige und rot mit viel Chrom.
Variante mit 6 Transistoren - Vergleiche mit der Variante 5 Transistoren.
- Autore
- Modello inviato da Willi Ribbe. Utilizzare "Proponi modifica" per inviare ulteriori dati.
- Altri modelli
-
In questo link sono elencati 12 modelli, di cui 12 con immagini e 7 con schemi.
Elenco delle radio e altri apparecchi della Trix Vereinigte Spielwarenfabriken, Nürnberg
Collezioni
Il modello Trix-Radio-Car BMW-2000CS fa parte delle collezioni dei seguenti membri.
Discussioni nel forum su questo modello: Trix Vereinigte: Trix-Radio-Car BMW-2000CS 9901
Argomenti: 1 | Articoli: 1
Autoelektronik für Vater und Sohn
Mit einer recht originellen Idee kommt Schaub-Lorenz auf den Markt. Die Firma offeriert einen Radiocar in einer "Vater und Sohn-Geschenkpackung". Sie enthält einen Transistor-Kofferempfänger Weekend 80 automatic und eine modellgetreue Nachbildung des BMW 2000 CS mit einem Mittelwellensuper.
Dieses BMW-Modell läßt vom inneren Aufbau her deutlich erkennen, wie wichtig das Autoradio ist und für die Zukunft sein wird: Fast 2/3 des Pkw-Volumens entfallen auf das eingebaute Radio.
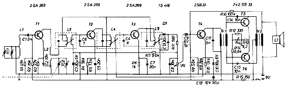
Bild 1 gibt einen kleinen Blick in das Innere des Modellautos.
Es handelt sich um einen Super, der den Mittelwellenbereich von 515 bis 1620 kHz empfängt. Ein großer Teil des Kofferraumvolumens wird durch einen Energieblock (9 V) eingenommen, der den "Brennstoff" für das Radio liefert. Beim Drehko-Antrieb wird das Prinzip der Getriebeübersetzung verlassen.
Durch die besondere Anordnung des Rändelrandes an der ovalen Unterseite erfolgt der Antrieb des Zweigang-Drehkondensators auf direktem Wege und sehr präzise. Der Vorkreis ist
auf einem 5 cm langen Ferritstab angebracht. Zur Bestückung gehören 6 Transistoren und l Diode. Die durch einen NTC-Widerstand temperaturstabilisierte Gegentaktendstufe liefert eine Ausgangsleistung von etwa 100 mW. Diese Leistung wird an einen permanentdynamischen Lautsprecher abgegeben, der durch seinen großen Korbdurchmesser und seine große Schwingspule beim größeren BMW-Vorbild zu Lasten der Beinfreiheit im Fahrgastraum gehen würde. Hier kommt das der Klangqualität zugute. Von insgesamt fünf Kreisen sind zwei abgestimmt, so daß sich günstige Selektionseigenschaften ergeben.
An der Mittelanzapfung der Primärkreise der Zf-Bandfilter erfolgt die Zuführung der jeweiligen Kollektorspannung. Gleichzeitig erfolgt vom unteren Wickelteil jeweils über einen Kondensator von 6 bzw. 7pF eine Neutralisation (Schaltbild s.Bild 2).
Das Lautstärkepotentiometer ist mit dem Ein- und Ausschalter kombiniert. Der Nf-Teil besteht aus einer Vorstufe mit Treibertransformator und einer temperaturstabilisierten Gegentaktendstufe. Zur Erzielung eines guten Nf-Frequenzganges ist eine
Gegenkopplung über C 13, C 14 und R 12 vorgesehen.
Sicher wird diese nette Idee bei vielen Interessenten Anklang finden.
Quelle: Radio-Fernseh-Phono-Praxis H.4 20.April 1967
Uwe Ronneberger, 22.Nov.10