Boy's Radio
Union Co. Ltd.; Yokohama
- Country
- Japan
- Manufacturer / Brand
- Union Co. Ltd.; Yokohama
- Year
- 1962 ??
- Category
- Broadcast Receiver - or past WW2 Tuner
- Radiomuseum.org ID
- 223969
Click on the schematic thumbnail to request the schematic as a free document.
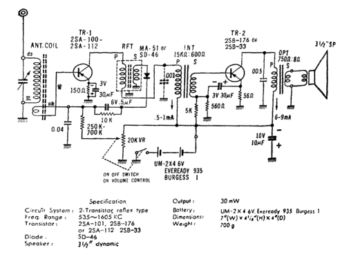
- Number of Transistors
- 2
- Main principle
- TRF with diode detector; Reflex
- Tuned circuits
- 1 AM circuit(s)
- Wave bands
- Broadcast only (MW).
- Power type and voltage
- Dry Batteries / 4 x 1.5 Volt
- Loudspeaker
- Permanent Magnet Dynamic (PDyn) Loudspeaker (moving coil) / Ø 3.5 inch = 8.9 cm
- Material
- Plastics (no bakelite or catalin)
- from Radiomuseum.org
- Model: Boy's Radio - Union Co. Ltd.; Yokohama
- Shape
- Tablemodel, with any shape - general.
- Dimensions (WHD)
- 170 x 105 x 95 mm / 6.7 x 4.1 x 3.7 inch
- Notes
-
2-Transistor Reflexempfänger mit Eintakt-A-Endstufe (30mW)
- Net weight (2.2 lb = 1 kg)
- 0.7 kg / 1 lb 8.7 oz (1.542 lb)
- Source of data
- -- Collector info (Sammler)
- Author
- Model page created by Hans-Jürgen Neuhaus. See "Data change" for further contributors.
- Other Models
-
Here you find 7 models, 7 with images and 3 with schematics for wireless sets etc. In French: TSF for Télégraphie sans fil.
All listed radios etc. from Union Co. Ltd.; Yokohama
Collections
The model Boy's Radio is part of the collections of the following members.