paillard: Das Kurzwellen - Mikroskop des PAILLARD "5502"
paillard: Das Kurzwellen - Mikroskop des PAILLARD "5502"

In einer Zeit, in der Resonanzkreise in Radiogeräten durch Kapazitätsdioden (VARICAPS) abgestimmt werden, deren Ansteuerspannung mit Hilfe von quarzgesteuerten PLL-Schaltungen bereitgestellt werden, ist es eine Kleinigkeit, sich in 1kHz Abstimmschritten durch die Kurzwellenbänder zu bewegen. Das war einmal ganz anders.
Um den Lesern des Forums ins Gedächtnis zurückzurufen, welchen Aufwand man früher einmal getrieben hat, um einerseits die Kurzwellenfrequenzen von 6 - 18 MHz (49 - 16m Band) in einer Stellung des Wellenbereichsschalters durchzustimmen, andererseits aber die KW-Sender feinfühlig und reproduzierbar einzustellen zu können, möchte ich an dieser Stelle über den 1948 von PAILLARD /CH gebauten Typ: „5502“ und sein „Kurzwellen-Mikroskop“ berichten, eine Kurzwellenlupe der besonderen Art. Sozusagen eine Hommage an die Fa. Paillard.
Hier zunächst eine Außenansicht und Chassisdraufsicht des PAILLARD "5502"
Auf der Chassisrückseite befindet sich ein Aufkleber mit der Röhrenanordnung, bei dem die „1“ der Typenbezeichnung „Z-5501“ mit einer „2“ überstempelt wurde. Rechts das Typenschild mit der Typenangabe „5502“. Unten auf dem Holzgehäuse der Datumsstempel 1. Déc 1948.
Schaltungsbeschreibung
Bei dem Gerät handelt es sich um einen Einfachsuper mit einer ZF von 470kHz, der mit einer gemischten Loktal/Oktal - Röhrenbestückung arbeitet. Ausnahmen sind die Gleichrichterröhre „80“ und das Magische Auge "6U5/6G5" mit US-Sechsstiftsockel.
Röhren und Röhrenfunktionen
7H7 Regelpentode: Hf-Vorverstärkung, 7S7 Triode/ Heptode: Oszillator/Mischer, 7H7 Regelpentode ZF-Verstärkung, 6B8 Duodiode /Pentode: Demodulator/ AVC / NF-Vorverstärkung, 6U5 /6G5 Magisches Auge, 6V6 NF-Endverstärker, 80 Zweiweggleichrichter
Da der ZF- und NF-Teil keine erwähnenswerten Besonderheiten aufweisen, beschränkt sich die Schaltungsbeschreibung auf den HF-Teil.
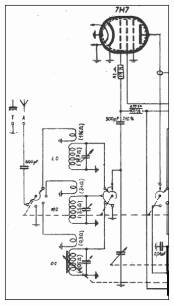
Vorkreis
Links der Schaltplanausschnitt, rechts der Vorkreis-Spulenturm nach entferntem Abschirmbecher.
Das Antennensignal wird bei LW(LO) und MW(MO) hochinduktiv auf den Eingangskreis gekoppelt. Diese Art der Ankopplung hat den Vorteil dass der Resonanzpunkt des Antennenkreises weit unterhalb des Empfangsbereiches liegt, wodurch eine bessere Konstanz der Eingangsempfindlichkeit über den gesamten Abstimmbereich gewährleistet wird. Nur bei KW(OC) wird niederinduktiv angekoppelt.
Nahe dem kalten Ende der MW-Vorkreisspule liegt ein Kurzschlussring "KuRi", mit dessen Hilfe die Induktivitätstrimmung erfolgte. Zu dieser Art des Induktivitätsabgleichs siehe auch "Abgleich von Spulen", Abschnitt 3, in dem das nebenstehende Bild eines der Induktivitätstrimmung dienenden, höhenverschiebbaren Kurzschlussrings aus einem Blaupunkt Dreikreiser LW4000 gezeigt wird. Während beim LW4000 die Trimmung auch bei aufgesetztem Abschirmbecher durch einen später versiegelten seitlichen Schlitz erfolgen konnte, war dies bei Paillard wegen der allseits verschlossenen Abschirmbecher offensichtlich nicht möglich. Die korrekte Postion des Kurzschlussringes musste also durch Vorversuche ermittelt werden. Bei der Montage wurde der Ring dann an die zuvor ermittelte Position gesetzt, mit Wachs fixiert und der Abschirmbecher über den Spulenturm gesetzt.
Zwischenkreis
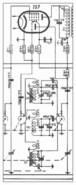
Das in der Regelpentode 7H7 vorverstärkte Antennensignal wird sodann niederinduktiv auf den Zwischenkreis gekoppelt und in der Mischröhre 7S7 mit dem Oszillatorsignal überlagert. Im Gegensatz zur MW-Vorkreisspule (Bild oben) hat die MW-Zwischenkreisspule keinen Kurzschlussring. Offenbar waren die Kreisgüten (Resonanzbreiten ) so eingestellt dass man von einem Feinabgleich der Induktivität absehen konnte.
Oszillatorkreis
Wie man im Schaltbild erkennt, hat die LW(LO)-Oszillatorspule einen eigenen Abgleichkern. Vergleicht man den Schaltplan mit dem rechts angebildeten Spulenturm so ist zu beachten, dass beim Oszillator die Bereichsspulen in anderer Reihenfolge gestapelt sind, als beim Vor- und Zwischenkreis, nämlich: Oben MW, in der Mitte LW, ganz unten KW. Der Träger des LW-Abgleichkerns ragt also von oben her durch die MW-Spule hindurch in die LW-Oszillatorspule.
Auch beim Oszillator wird zur Induktivitätstrimmung der MW-Spule ein Kurzschlussring "KuRi" verwendet, der wiederum mit Wachs am kalten Ende der MW-Spule positioniert wurde.
Die Gleichlauftrimmung auf den anderen Wellenbereichen erfolgt durch individuelle Padding- und Parallel-Trimmkondensatoren.
Bemerkenswert ist, dass hier eine Oszillatorschaltung gewählt wurde, bei der der Oszillatorschwingkreis in der Anodenleitung der 7S7 Triode liegt und die Ankopplung auf das Gitter der Triode führt. Die Zuführung der Anodenspannung der Triode erfolgt nicht durch die Spule des Oszillatorschwingkreises, sondern parallel über einen 20kOhm Widerstand!
Abstimmung / KW - Mikroskop
Wie man sieht, erfolgt die Hauptabstimmung mit Hilfe eines Dreifachdrehkos (blaue Kreise). Im Oszillator wird der Wert von 500pF in den Wellenschalterpositionen LW und MW durch Padding-Kondensatoren verkürzt. Um das Frequenzspektrum von 6 - 18 MHz in einem KW - Bereich zu erfassen, erfolgt auf KW keine Verkürzung, was natürlich zu einem relativ groben Abstimmverhalten führt.
Die Besonderheit dieses Gerätes liegt nun darin, dass KW-Sender abgesehen von der groben Hauptabstimmung mit einem sehr feinfühligen "Kurzwellen-Mikroskop" fein-abgestimmt werden können. Dies erfolgt durch synchrone Variation der Induktivität der Vorkreis-, Zwischenkreis- und Oszillatorkreisspule, angedeutet durch die roten Verbindungslinien. Wie das folgende Bild zeigt, wurde diese synchrone Veränderung der Induktivität dadurch erreicht, das man die 3 KW-Abgleichkerne an einer gleichschenkligen Wippe aufhängte, die durch eine Kurvenscheibe gekippt wird.
Die Gleichschenkligkeit der Wippenarme garantierte somit die synchrone Bewegung der Spulenkerne.
Um kleinere Korrekturen an der Eintauchtiefe der Abgleichkerne in die KW-Spulen vornehmen zu können, hatte man die Pertinax-Laschen, an denen die Abgleichkerne befestigt waren, mit Langlöchern versehen (blauer Pfeil).
Natürlich hatte diese Strategie der KW-Lupe den gleichen Nachteil, wie alle anderen Konzepte, bei denen man die Hauptabstimmung auf einen nicht eindeutig definierten Punkt auf der Skala einstellt und von dort ausgehend mit der KW-Lupe abstimmt: Die fehlende Frequenzeichung.
Um nun bei der Sendersuche wenigstens eine gewisse Reproduzierbarkeit zu gewährleisten ging man folgendermassen vor: Der Zeiger der Haupabstimmung wurde auf die kleine weiße Marke innerhalb der Markierung eines KW-Bandes eingestellt. Von dort ausgehend arbeitete man dann mit der KW-Lupe, deren Zeiger über eine Nonius-Skala von 0 ...165 lief (ganz oben auf der Skalenscheibe). Die nahezu spielfreie Mechanik von Kurvenscheibe und Wippe erlaubte dann eine KW-Station auf der Nonius-Skala mit recht guter Reproduzierbarkeit wiederzufinden.
Abschließend kann man konstatieren, dass hier aufgrund sorgfältiger Konstruktion und geschickter Schaltungsauslegung ein für den zivilen Einsatzbereich erstaunlich präzises Produkt entstanden war.
Natürlich darf man solche Geräte und ihre KW-Bandspreizung nicht mit dem im Militärbereich betriebenen Aufwand vergleichen. Als Beispiel soll hier der "boat-anchor" Hammarlund BC-779 erwähnt werden, von dem ich einen Schaltungsauszug und den Aufbau des "Band-Spread" Drehkos zeigen möchte:
Je nach angewähltem Kurzwellenband wurden unterschiedliche Sektionen des 4-fach Drehkos zusammengeschaltet. Der Antrieb des Band-Spread-Drehkos erfolgte mit einer Zahnradübersetzung - selbstverständlich mit verspannten Zahnrädern. Damit kann der Paillard 5502 zugegebenermaßen nicht mithalten. Aber es handelte sich eben um ein Gerät für den militärischen Einsatz, bei dem der Kostenaufwand und das Aussehen (abgesehen von der Funktionalität der Bedienelemente) keine Rolle spielten. Auf jeden Fall war der BC-779 nicht wohnzimmertauglich. Vergleichen Sie selbst!
Für diesen Post bedanken, weil hilfreich und/oder fachlich fundiert.