Schwebungssummer
Schwebungssummer
Schwebungssummer
Wer kann mir helfen.
Als analog- NF Techniker ( Tonmeister ) verstehe ich nicht allzu viel von HF.
Ich sollte zwei Sender, im LW – MW Bereich bauen. Der eine sollte eine feste Frequenz haben. Der andere sollte dieselbe Frequenz haben, aber um bis zu 20 KHz, mittels Drehkondenser verstimmbar sein. Die Grundfrequenz stelle ich mir so bei 200KHz bis 1MHz vor. Die Signale dieser beiden Oszillatoren sollte ich nun mischen können, die niedrigere von der höheren abziehen, so dass eine Schwebung der beiden Frequenzen entsteht. Ich glaube man sagt dem Schwebesummer. Anschliessend muss noch der HF Anteil ausgefiltert werden damit nur noch die Schwebung im NF Bereich nutzbar ist. Und das ganze natürlich mit Röhrenbestückung. Meiner Vorstellung nach sollte mit einer solchen Schaltung ein viel reinerer und wärmerer Klang ( Sinuswelle ) entstehen als mit einem VCO. Mit der Schaltung sollte man 10 – 12 Oktaven kontinuierlich überstreichen können. Natürlich habe ich auch schon mit dem MAX038, dem XR2206 und diskret aufgebauten VCOs versuche gemacht. Beim VCO wird das Signal mit einer Rechteck- oder Dreieck- Spannung generiert und anschliessend in einen ( mehr oder weniger ) Sinus umgewandelt. Leider weisen alle diese Sinuswellen eine Macke beim Nulldurchgang oder im Scheitel auf und diese Macke hört man. Wer kann mir mit Schemas und Dimensionierungsanhaltspunkte weiterhelfen.
Besten Dank
Thomas Diemer
Für diesen Post bedanken, weil hilfreich und/oder fachlich fundiert.
SEARCH Schwebungssummer
MfG DR
Für diesen Post bedanken, weil hilfreich und/oder fachlich fundiert.
Kein Schaltungvorschlag, nur ein paar Überlegungen:
Bei dem geforderten Variationsbereich von 10-12 Oktaven (ca1000 bis 4000 :1) bietet sich natürlich die Schwebungsmethode an.
Aber: Automatisch gibt das durchaus noch lange keinen Sinus. Durch die notwendige Nichtlinearität der Mischerschaltung entstehen zwangsläufig weitere Mischprodukte (Harmonische). Auch hier kommt man um eine Filterung nicht herum, besonders bei den tieferen Frequenzen. Hilfreich ist im Vorfeld eine sorgfältige Ausregelung der Pegel.
Geregelte RC-Schaltungen (z.B. mit Wien-Brücke) sind leichter klirrarm aufzubauen. Sie erlauben aber leider nicht so große Frequenzvariation in einem einzigen Bereich.
Haben sie auch schon mal VCO mit LM13700 = NE5517N (Transconductance Amp) versucht?
Wie drückt sich die "Macke" in %k aus (hier wohl THD etc., da alles symmetrisch verläuft)?
Für diesen Post bedanken, weil hilfreich und/oder fachlich fundiert.
Für diesen Post bedanken, weil hilfreich und/oder fachlich fundiert.
Hallo, Herr Diemer,
in meinem bescheidenen "Keller" habe ich mehrere Sinusgeneratoren:
- selbstgebaut mit XR2206: Hat natürlich im Scheitelpunkt eine "Macke"
- selbstgebaut, Wien Brücken Prinzip, mit Regelung über FET: sehr sauberer Sinus, muss jedoch korrekt abgeglichen sein ( Verstärkung im Kreis ), nach Frequenzänderung jedoch Amplitudenschwankungen, die innerhalb max 2 Sek abklingen.
- Grundig Schwebungssummer 295: schönes Gerät, 0 - 20kHz, sauberer Sinus, mit zuschaltbarem "Nachverstärker ( 2 x EL84 im Gegentakt )" keine perfekte Amplitudenkonstanz über den Frequenzbereich.
Ich hatte vor längere Zeit Klirrfaktormessungen gemacht, aus denen der Wien Brücken Generator als klirrärmster hervorgegangen ist. Das trifft natürlich nur auf diese 3 Exemplare zu.
Vielleicht hilft Ihnen das weiter,
mit freundlichen Grüßen aus Berlin,
Henning Oelkers
Für diesen Post bedanken, weil hilfreich und/oder fachlich fundiert.
Guten Abend
Danke vorerst für die Post.
Herr Rudolph, Auf Ihre Anregung hin habe ich ein paar Schemas gefunden, die werde ich in demnächst studieren.
Herr Birkner, z.B. das Theremin schafft diesen Frequenzumfang. Vom Urteremin habe ich auch Schaltpläne aber ohne Dimensionierung. Moog baut heute transistorisierte Theremins. Aber dieses Moog Theremin klingt wie ein Moog Synthesizer, spitz, kratzig, eben wie ein Moog. Das Urtheremin, ein Schwebungssummer hat einen reinen warmen klang. Ich konnte mir mal das Signal von einem Röhrentheremin auf dem Oszillografen ansehen, ein relativ sauberer Sinus bis in die tiefsten Töne. Den LM13700 kenne ich nicht aber ich werde mich um ihn bemühen. Die Macke, im Nulldurchgang sieht aus wie eine kurze Verzögerung bei Null Volt, eine art Pause und die beim Scheitel sind mehrere kleine Spitzen, ein Überschwingen zusehen und hören. Das bringt vor allem in den Tiefen diesen Synthi- Klang. Klirrmessungen habe ich keine gemacht.
Herr Herrmann, ich weiss dass ich ein hohes Ziel habe. Deshalb frage ich ja hier. Ich bastle auch schon länger an diesem Projekt und habe bis jetzt noch kein befriedigendes Resultat gefunden. Bis anhin klingt der VCO A110 von Döpfer noch am besten. Er schafft ca. 7 Oktaven. Aber eben die Tiefen sind nicht sauber. Und wenn man schnell über mehrere Oktaven fährt gibt es Aussetzer.
Herr Oelkers, ist das nicht so dass man mit der Wien Brücke nur ca 4 Oktaven überstreichen kann und dann auf eine höhere Kapazität umschalten muss. Haben Sie vom Grundig 295 die Schaltpläne.
Nochmals besten Dank für Eure Voten.
Thomas Diemer
Für diesen Post bedanken, weil hilfreich und/oder fachlich fundiert.
Hallo, Herr Diemer,
ja, natürlich muss bei einer Wien Brücke umgeschaltet werden. Das vergaß ich zu erwähnen.
Grundig Schwebungssummer: Hier gibt es Modell 295 und Modell 295A. Letzteres habe ich selbst, die Bilder auf der Modellseite zeigen mein Gerät, die Schaltpläne sind beim Modell vorhanden.
Bitte einfach "295A" unter Erweiterte Suche bei "Modell" eingeben, dann finden Sie es.
Mit freundlichen Grüßen aus Berlin,
Henning Oelkers
Für diesen Post bedanken, weil hilfreich und/oder fachlich fundiert.
Hallo, Herr Diemer,
ich weiß, dass das Theremin einen weiten Bereich kann, eben weil es auf dem Schwebungsprinzip beruht.
Schauen Sie sich trotzdem mal den LM13700 an. Man kann damit nicht nur einen VCO bauen, sondern auch ein Voltage controlled Low Pass Filter. Das müsste sich bei geeigneter Dimensionierung mitlaufen lassen und den Klirr noch weiter unterdrücken.
Ich kenne nur die Applikationsunterlagen (umfangreich, 20 Seiten) und habe nur (beste) Erfahrungen mit dem Element als absolut perfektem Amplitudenmodulator.
Es sind aber 28 verschiedene Anwendungen erläutert.
Der Äquivalenztyp ist NE5517N.
Viel Erfolg!
Für diesen Post bedanken, weil hilfreich und/oder fachlich fundiert.
hier kann ich Ihnen noch einen Literaturtipp geben:
Radio-Praktiker-Bücherei Band 78
Herbert Lennartz, Schwebungssummer
Taschenbuch, 1955, 64S.
Es sind Grundlagen, Selbstbau und 4 Industrieschaltungen beschrieben.
Das Büchlein gibt es noch bei zvab.com
Gruß, H.-T. Schmidt
Für diesen Post bedanken, weil hilfreich und/oder fachlich fundiert.
Guten Tag Herr Diemer,
präzisieren Sie bitte mal, in welche Richtung Ihr Projekt gehen soll. Die klassischen Bauanleitungen für Schwebungssummer (z. B. Funkschau) waren für Klirrarmut = "spektrale Reinheit" ausgelegt, aber eben z. B. Drehknopfbedienung. Also als Sinusgenerator für das Labor oder den Messplatz. Da Sie aber selbst Theremin (Thereminorgel) erwähnen, scheint mir Ihr Interesse mehr in der Richtung Musikinstrument zu liegen. Für Leser die es nicht kennen: Ein Musikinstrument, bei dem berührungslos durch Annäherung der Hand/Finger Tonhöhe, evtl. auch Lautstärke etc. beeinflusst wird. Auf dem Avatar des Fragestellers ist es zu sehen, meine ich. Eine Bauanleitung für ein Theremin gab es mal in der Zeitschrift elektor (Recherche in deren Archiv evtl. über Internet)
Für diesen Post bedanken, weil hilfreich und/oder fachlich fundiert.
Theremin - Ondes
Liebe RM Freunde
Wieder besten Dank für Eure Mithilfe. Ich bin überwältigt wie mir von so vielen Seiten kompetent Hand geboten wird.
Danke Herr Oelkers, das Schema habe ich gefunden. Mit einer allfälligen Bauteilbeschaffung habe ich mich noch nicht beschäftigt, das könnte noch eine Knacknuss werden.
Herr Birkner, das Datenblatt habe ich mir ausgedruckt, danke für Ihre Anregung.
Besten Dank Herr Schmidt, das von Ihnen erwähnte Buch wurde mir von ZVAB, nach der Bestellung, als vergriffen gemeldet. Inzwischen habe ich aber eine gescannte Version per Mail erhalten.
Wie Sie richtig bemerkt haben, Herr Herrmann, bastle ich an einem Musikinstrument herum, einem Artverwandten vom Ondes. Vom Theremin spreche ich weil das bedeutend bekannter ist als das Ondes. Aber beide beruhten auf dem Schwebungssummerprinzip.
Ein kleiner Exkurs bin ich nun wohl schuldig.
Beim Theremin, beim alten Urtheremin, dem originale das von Herrn Theremin gebaute wurde, oder das von RCA, handelt es sich um zwei Oszillatoren. Beide haben dieselben Frequenzen die dann gemischt werden. Der eine Oszillator hat eine Antenne, über die er sich, durch die Annäherung der Hände des Musikers, verstimmen lässt. So lässt sich die Tonhöhe bestimmen. Über einen weiteren Oszillator mit Antenne kann die Amplitude des Signals beeinflusst werden. Das Theremin ist bis heute das einzige Musikinstrument das beim Spielen nicht berührt werden darf.
Beim Ondes gibt es zwei Möglichkeiten die Tonhöhe zu bestimmen.
1 ) Mit einer Klaviatur. Diese ist schwimmend aufgehängt und lässt sich leicht hin und her bewegen. Das hin und herbewegen bedient eine Drehkondensator, die Tasten schalten feste Kapazitäten. Drehkondensator und Tasten beeinflussen den zweiten Oszillator. Durch die Bewegung der Tastatur kann ein Vibrato des aktuell klingenden Tones, direkt an den Tasten, beim Spielen erzeugt werden, ähnlich wie bei einer Geige.
2 ) Den Tasten entlang ist eine Schnur mit einem Fingerring geführt. Diese Schnur bewegt, beim hin und her fahren, über den gesamten Tonumfang, z.B. einen Drehkondensator oder eine andere veränderbare Kapazität die ebenfalls diesen zweiten Oszillator verstimmt. Die Klaviatur dient in diesem Fall nur als Orientierung, wo welcher Ton ist.
Diese Aktionen werden mit der rechten Hand ausgeführt.
Mit der linken Hand wird eine separate Taste und ev. andere Elemente bedient. Mit dieser Taste wird die Amplitude des Ausgangssignals geregelt. Wenn die Taste schnell gedrückt wird, wird der Ton wie eingeschaltet. Wenn die Taste langsam betätigt wird, schwingt der Ton quasi ein. Die anderen Bedienelemente beeinflussen die Klangfarbe.
Heute werden neue, Instrumente angeboten, auf Synthesizerbasis. Diese klinge wie oben beschrieben, eben wie ein Synthesizer.
Nun möchte ich mir ein Ondes- ähnliches Instrument bauen das aber den warmen, reinen Klang erzeugt. Am liebsten würde ich mit Röhren arbeiten. Wenn es eine nachbaubare Schaltung mit moderner Technik gibt ist das natürlich auch gut. Deshalb suche ich ein geeignetes Schema mit den Dimensionierungen der Bauteile, auch der Spulen.
Ich versuche noch Fotos von Theremin und Ondes hoch zuladen.
Das Teil neben mir auf meinem Avatar ist eine Sinar, eine grossformat Fachkamera.
Mit bestem dank an alle und freundlichen Grüssen aus Zürich
Thomas Diemer
- Theremin und Ondes (9 KB)
- W-Theremin-2 (23 KB)
- W-Ondes-1 (19 KB)
- W-Ondes-2 (33 KB)
- W-Ondes-3 (28 KB)
- W-Ondes-4 (26 KB)
Für diesen Post bedanken, weil hilfreich und/oder fachlich fundiert.
Bleibt also ein wesentliches Entscheidungsmerkmal, wohin Sie gehen wollen: Berührungslose Veränderung des (einen von zwei) Oszillators mittels der Handkapazität o d e r mechanische Verstellung eines Dreh- oder Plattenkondensators mittels Seilzug, Tastatur oder ähnlich; eben Frequenzvariation mittels "Bedienung von Hand".
Für diesen Post bedanken, weil hilfreich und/oder fachlich fundiert.
Thermin, Trautonium
In den '20ern wurden parallel zu den Radios auch elektronische Musikinstrumente entwickelt.
Das Theremin kann unter diesem Gesichtspunkt als Nebenprodukt des Audions gesehen werden. Audions können schwingen und geben zusammen mit einem empfangenen Träger dann Pfeif- bzw. Schwebungstöne von sich. Zusätzlich waren die ersten Schaltungen sehr "handempfindlich" und änderten die Tonhöhe, wenn man mit der Hand in die Nähe der Bedienknöpfe kam. Das ist zwar lästig für jemand, der Radio hören will, aber anderseits läßt sich damit auch "Musik" machen, wenn die Schaltung so empfindlich aufgebaut ist, daß sie schon auf einige Entfernung reagiert.
Etwas anders arbeitet das Trautonium. Hierbei wird eine Sägezahnschwingung erzeugt, die in ihrer Tonhöhe über eine Widerstands-Saite gesteuert wird. Da die Sägezahnschwingung alle Harmonischen enthält, können dann daraus mit Hilfe von Bandpaß-Filtern Klänge gewonnen werden.
Das Trautonium erscheint mir weitaus virtuoser zu sein (wenn man es spielen kann) als das Theremin. Aber hier bin ich voreingenommen, da ich in den '80ern, zusammen mit zwei weiteren Kollegen von der (damaligen) Fachhochschule der Deutschen Bundespost Berlin, für
Oskar Sala ein Trautonium in Halbleitertechnik
entwickelt und gebaut habe.
Bei Google finden sich unter "Theremin" und "Trautonium" zahlreiche Beiträge, einschließlich Schaltplänen.
MfG DR
Für diesen Post bedanken, weil hilfreich und/oder fachlich fundiert.
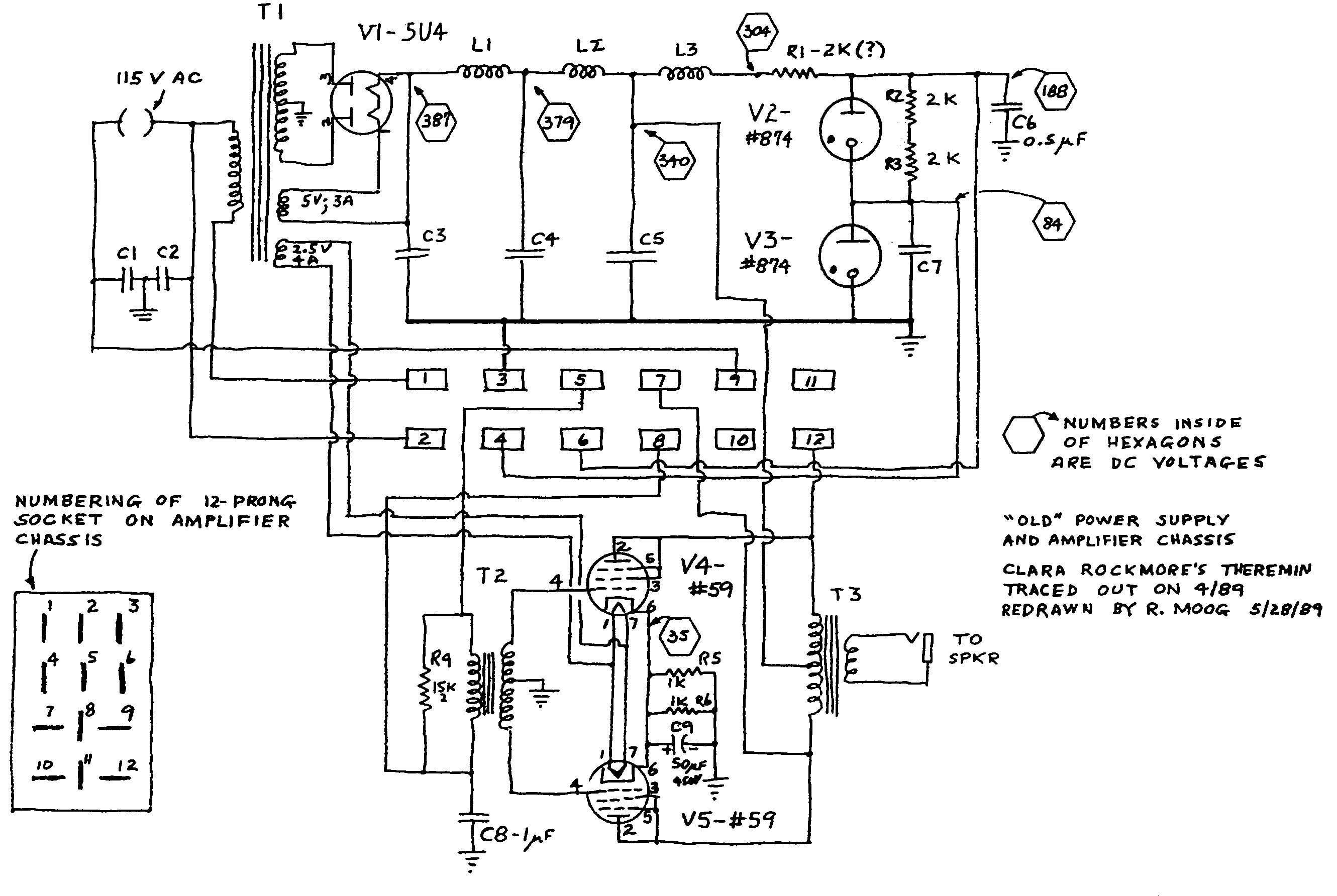
Clara Rockmore´s Theremin
Hier sind die von Bob Moog von Hand nachgezeichneten Schaltpläne des modifizierten RCA-Theremins der großartigen Clara Rockmore. Es unterscheidet sich vom RCA-Original durch einen deutlich schnelleren Regelkreis für die Lautstärke. Während beim Original die Lautstärkeveränderung über die Variation des Heizstromes einer direkt geheizten Triode 01A erfolgt, passiert es hier über die Variation der Anodenspannung der Oszillator-Pufferstufe.
Der Klang entspricht meinen Erfahrungen nach nicht einem Sinus, sondern einem solchen mit starkem quadratischen Anteil, besonders bei den tiefen Tönen (zu erzeugen beispielsweise in der Audio-Software CoolEdit als "Flavour: sine square").
Viel Erfolg,
Nikolaus Löwe
Anlagen:- US_RCA_Theremin_schem1 (79 KB)
- US_RCA_Theremin_schem2 (71 KB)
Für diesen Post bedanken, weil hilfreich und/oder fachlich fundiert.
Guten Tag
Herr Herrmann, ich möchte mir ein Ondes- ähnliches Instrument bauen, also mit einer mechanischen Bedienung, wahlweise mit einer Klaviatur und der beweglichen Schnur an einem Drehkondensator. Die klassischen Bauanleitungen für Schwebungssummer (z. B. Funkschau), die Sie am 24.des. erwähnt hatten, habe ich natürlich sofort gesucht, bin aber nicht fündig geworden. Haben Sie ev. die entsprechenden Unterlagen oder kennen Sie einen Link im Web wo ich diese einsehen kann. Das Theremin ( das erste Foto welches ich leider mit falschem Titel, Theremin und Ondes (9 kb), hochgeladen habe) habe ich bei mir. Es ist aus der aktuellen Produktion von Moog und auch als Bausatz erhältlich. Ein Ondes besitze ich leider nicht, noch nicht.
Herr Rudolph, Danke für Ihre Ausführungen. Das Trautonium ist einfacher zu Spielen als das Theremin, aber das Ondes ist noch besser dran. Man kann über die Tasten spielen oder über die Schnur und sich an den Tasten orientieren. Dazu kommt die Möglichkeit vom Vibrato das direkt an den Tasten oder der Schnur gespielt wird. Beim Synthesizer kann auch ein Vibrato erzeugt werden aber eben nicht direkt.
Ein Trautonium habe ich auch gebaut. Mit der Widerstandssaite als Spannungsteiler hatte ich ein VCO gesteuert, das war aber unbefriedigend. Ein sehrgutes Trautoniummodul bietet Döpfer an, A-198, das eine Gleichspannung oder MIDI Befehle ausgibt und somit jeder Synthesizer oder jedes VCO angesteuert werden kann. Leider ist das A-198 nur ca. 50 cm lang und somit viel zu kurz um mit einer Klaviertastatur zu korrespondieren.
Herr Löwe, in den Anhang lege ich ein Schema von Robert Moog aus dem Jahre 1954.
Links sieht man schön die beiden Oszillatoren, der obere mit der Antenne, für die Tonhöhe und rechts die Schaltung mit der Antenne für die Volumenregelung. Könnte man diese Schaltung auf heute erhältliche Röhren modifizieren.
Schönen Gruss
Thomas Diemer
- A198 von Döpfer (16 KB)
- Theremin v. Robert Moog 1954 (136 KB)
Für diesen Post bedanken, weil hilfreich und/oder fachlich fundiert.
Moog Theremin 1954
Sehr geehrter Herr Diemer,
wenn Sie das Moog Theremin von 1954 mit modernen Röhren nachbauen wollen, versuchen Sie doch 3x ECH81 für die Oszillatoren, EBF89 für den Mischer/Vorverstärker und EL84 oder EL95 für die Endstufe. Das Netzteil würde ich in Halbleiter ausführen.
Viele Grüße,
Nikolaus Löwe
Für diesen Post bedanken, weil hilfreich und/oder fachlich fundiert.
Fragen zu Ihrem Trautonium
mit Interesse nehme ich zur Kenntnis, daß Sie sich auch am Trautonium versucht haben. Könnten Sie dazu vielleicht nähere Ausführungen machen, was Sie konkret erprobt haben? Welche Schwingungsformen (Sinus, Rechteck, Sägezahn) lieferte der VCO? Haben Sie Mixturen realisiert? Wie haben Sie die Formantfilterung ausgeführt? Was war unbefriedigend?
Döpfers Modelle sind bekannt. Es gilt aber, die zeitliche Reihenfolge zu beachten. Zuerst hatten wir ("die 3 Professoren von der Fachochschule") für Oskar Sala ein Mixturtrautonium in Halbleitertechnik erstellt und Oskar Sala hat u.a. mit Live Auftritten und der CD "My Fascinating Instrument" (Erdenklang) für Publizität gesorgt. Erst danach gab es diese anderen Projekte, die zum größten Teil aus Diplomarbeiten zu Teilen unseres Mixturtrautoniums hervorgingen.
Wenn ich oben schrieb, das Trautonium sei virtuoser zu spielen, so betrifft es u.a. genau das Vibrato. Zudem muß das Trautonium i.a. in Echtzeit gespielt werden, ganz im Unterschied zu einem programmierbaren elektronischen Musikinstrument. Als Spieler war Oskar Sala unübertroffen. Da er aber leider niemand am Trautonium ausgebildet hat, gibt es meines Wissens bislang keinen Spieler, der mit Sala vergleichbar wäre - leider. Das von uns gebaute Mixturtrautonium steht nun im Musikinstrumenten Museum Berlin und ist für Musiker spielbar.
Ein Beispiel für die Virtuosität und klangliche Vielfalt des Trautoniums ist der (sicher allgemein bekannte) Soundtrack zu Alfred Hitchkocks "Die Vögel", wo alles außer den Stimmen vom Trautonium erzeugt wurde. Ist es denkbar oder technisch möglich solche Töne und Geräusche (z.B. Schreie der Raben) auch mit dem Theremin oder dem Ondes zu erzeugen?
Aus dem Mixturtrautonium wurde im "Rundfunk- und Fernsehtechnischen Zentralinstitut" (Deutsche Post der DDR) das Subharchord entwickelt, welches ein Tastenistrument ist, aber bezüglich der Klangerzeugung nach wie vor dem Mixturtratonium entspricht. Das Subharchord läßt sich demzufolge etwas einfacher spielen als das Mixturtrautonium.
MfG DR
Für diesen Post bedanken, weil hilfreich und/oder fachlich fundiert.
Trautonium FLF Ondes
Guten Abend
Vielen Dank Herr Löwe für die Angaben. Ich bin zwar mit Röhren gross geworden aber seit vielen Jahren hatte ich nur noch mit Halbleitern zutun. Somit muss ich mich wieder einarbeiten.
Herr Rudolph, mit grossem Interesse bin ich Ihren Ausführungen gefolgt und natürlich auch den beigelegten Links. Den Name Sala kenne ich, aber ich hätte ihn nicht mehr auf Anhieb dem Trautonium zuordnen können. Bei uns ist Bruno Spörri, der Computerjazzer vielleicht ein Pendant zu Oskar Sala.
Dass ich mich auch am Trautonium versucht hatte, ist vielleicht etwas hoch gegriffen.
Das was ich von Trautonium abgekupfert hatte war lediglich das Spielelement, die Saite.
Ich hatte mir einen Heizdraht von einer PVC- Abbiegemaschine genommen. der war genügend lang für eine Klaviertastatur und er war billig zu beschaffen. Dieser wurde ca. 3mm über einen Messingstreifen gespannt. Der Messingstreifen hat als Potmeterabgriff gedient. Der Draht als Potmeterbahn. Am Draht war links Masse und rechts z.B. +10 V angelegt. Mit der Spannung am Abgriff, 0V - 10V hatte ich ein VCO IC wie der XR2206 oder XR8038 und auch den A110 von Döpfer angesteuert. Gebraucht hätte ich nur einen Sinus, den aber sauber, die anderen Wellenformen interessierten mich nicht, somit auch keine Mixturen. Unbefriedigend war mein mechanischer Aufbau und der Draht selbst war relativ rau, hat also beim Spielen die Finger angekratzt. Diese Probleme wären noch lösbar gewesen aber am meisten hatte ich mir die Zähne ausgebissen an der Spreizung, also wenn ich z.B. mit dem Finger vor einem c’ beim Klavier stand, klang aus dem Lautsprechen etwas anderes. nur kein c’. An diesem Problem werde ich auch weiterhin noch zuknobeln haben.
Sicher gab es zu der Zeit als Sie Ihr Trautonium entwickelten weder Döpfer- noch Moog- Module. Um ein solches Instrument von Grund auf zu entwickeln fehlt mir die Ausbildung. Gelernt hatte ich Fotograf, deshalb steht eine Sinar neben mir in meinem Avater. Gearbeitet hatte ich mein Leben lang aber vor allem als Tonmeister und Tontechniker, beim Film, Radio und meistens beim Fernsehen. Mein Wissen über Elektronik hatte ich mir selbst angeeignet.
Das Theremin oder das Ondes würden sich wenig eignen um natürliche Geräuschkulissen zu erzeugen, das ist auch nicht das Ziel. Beide sollen einen möglichst reinen Ton von sich geben der über den gesamten hörbaren Bereich gezogen werden kann, aber auch normale Melodien müssen gespielt werden können. Da diese Instrumente meist in der klassischen Musik mit einem Orchester zum Einsatz kommen, müssen sie direkt bespielt werden können.
Mit dem Musikinstrumenten Museum Berlin sind wir auch im Kontakt.
Der Farblichtflügel 1 soll mal da seine Ruhe finden. Der Farblichtflügel wurde von der Hochschule der Künste Berlin und der Musikhochschule Zürich für ein synästhetisches Projekt gebaut. Er produziert nicht nur Klänge sondern auch Bilder, synästhetische Bilder die bei einem Konzert in den Raum projiziert werden. Von mir wurde er, weil er nie richtig funktionierte, restauriert, umgebaut und nun technisch gewartet. Am 23. Februar findet voraussichtlich das letzte Konzert mit ihm in Zürich statt. Wir planen den Farblichtflügel 2 und wenn der steht kommt der FLF1 vermutlich nach Berlin.
Wenn ich ihn dann mal ins Musikinstrumenten Museum Berlin bringe werde ich sicher Ihr Trautonium besuchen gehen.
Gute Woche
Thomas Diemer
PS:
Gerne hätte ich eine Hörprobe vom Ondes als MP3 File hochgeladen aber das hat nicht geklppt.
Anlagen:Für diesen Post bedanken, weil hilfreich und/oder fachlich fundiert.
Trautonium Bauanleitung 1933
Ich möchte nur darauf hinweisen, dass in der "Deutsche Radio-Bücherei" Band 17 eine Bauanleitung für ein Trautonium enthalten ist. (Keine Wertung und keine Teilnahme an der Diskussion, da ich dazu zu wenige Fachkenntnisse besitze!)

Und so sieht es aus:

Ich habe dieses Heft selbst nicht, die Bilder stammen nur aus einer Reklame im Heft 36.
Wolfgang Eckardt
Für diesen Post bedanken, weil hilfreich und/oder fachlich fundiert.
Bauanleitung für Thereminapparat
Viele Beiträge im Funk-Bastler sind zwar wortreich, so auch die zitierten, jedoch sucht man oft wesentliche Angaben vergeblich, wie hier z.B. die Angaben zu den Induktivitäten der verwendeten HF-Spulen und den Frequenzen der Oszillatoren. (In anderen Bauanleitungen sind oft nicht die verwendeten Röhren benannt.)
Das Inserat zumTrautonium habe ich auch schon verschiedentlich gefunden. Vielleicht hat jemand den Band 17 und kann zum Inhalt etwas aussagen. Interessant wäre in diesem Zusammenhang, in wie weit eine Übereinstimmung zum "Volkstrautonium" von Telefunken besteht, das ja auch um diese Zeit entstand.
MfG DR
Für diesen Post bedanken, weil hilfreich und/oder fachlich fundiert.
Winckelmann-Trautonium
Der Band 17 der "Radio-Bücherei" über den Selbstbau eines Trautoniums ist bislang noch nicht aufgetaucht.
Zum Inhalt dieses Bandes erfährt man etwas aus dem "Katalog der Radio-Zentrale Alex v. Prohaska, 1932/33, S. 186"

MfG DR
Für diesen Post bedanken, weil hilfreich und/oder fachlich fundiert.