751 Ch= 701A
Airzone (1931) Ltd.; Sydney
- Pays
- Australie
- Fabricant / Marque
- Airzone (1931) Ltd.; Sydney
- Année
- 1937
- Catégorie
- Radio - ou tuner d'après la guerre 1939-45
- Radiomuseum.org ID
- 166479
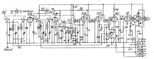
Cliquez sur la vignette du schéma pour le demander en tant que document gratuit.
- No. de tubes
- 7
- Principe général
- Super hétérodyne avec étage HF; FI/IF 456 kHz; 3 Etage(s) BF
- Gammes d'ondes
- PO et OC
- Tension / type courant
- Piles (rechargeables ou/et sèches) / 135 & 2 & -3 & -4.5 & -9 Volt
- Haut-parleur
- HP dynamique à aimant permanent + bobine mobile / Ø 10 inch = 25.4 cm
- Matière
- Boitier en bois
- De Radiomuseum.org
- Modèle: 751 Ch= 701A - Airzone 1931 Ltd.; Sydney
- Forme
- Console avec pieds bas < 50% de la hauteur
- Prix de mise sur le marché
- 41.00 Aus£
- Source du schéma
- Australian Official Radio Service Manual Vol. I
- Schémathèque (1)
- Radio Technician 11/39. Also in Mingay's index.
- Auteur
- Modèle crée par Stuart Irwin. Voir les propositions de modification pour les contributeurs supplémentaires.
- D'autres Modèles
-
Vous pourrez trouver sous ce lien 283 modèles d'appareils, 134 avec des images et 154 avec des schémas.
Tous les appareils de Airzone (1931) Ltd.; Sydney