Voltmetro Amperometro Ohmmetro 2157
Allocchio Bacchini (Radialba); Milano
- Paese
- Italy
- Produttore / Marca
- Allocchio Bacchini (Radialba); Milano
- Anno
- 1941 ??
- Categoria
- Strumento da laboratorio
- Radiomuseum.org ID
- 324400
Clicca sulla miniatura dello schema per richiederlo come documento gratuito.
- Gamme d'onda
- - senza
- Tensioni di funzionamento
- Batterie a secco
- Altoparlante
- - - Nessuna uscita audio.
- Radiomuseum.org
- Modello: Voltmetro Amperometro Ohmmetro 2157 - Allocchio Bacchini Radialba;
- Annotazioni
-
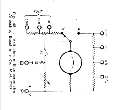
Portate:
Tensione CC: 10 - 100 - 500 V
Corrente CC: 10 - 100 - 500 - 2.000 mA
Resistenza: 100.000 Ω
- Bibliografia
- -- Schematic (Servizio Radiotecnico, D.E. Ravalico – Italy - 1941)
- Autore
- Modello inviato da Pier Antonio Aluffi. Utilizzare "Proponi modifica" per inviare ulteriori dati.
- Altri modelli
-
In questo link sono elencati 341 modelli, di cui 239 con immagini e 230 con schemi.
Elenco delle radio e altri apparecchi della Allocchio Bacchini (Radialba); Milano